GM Service Manual Online
For 1990-2009 cars only

Object Number: 566628  Size: LF
ABS Components
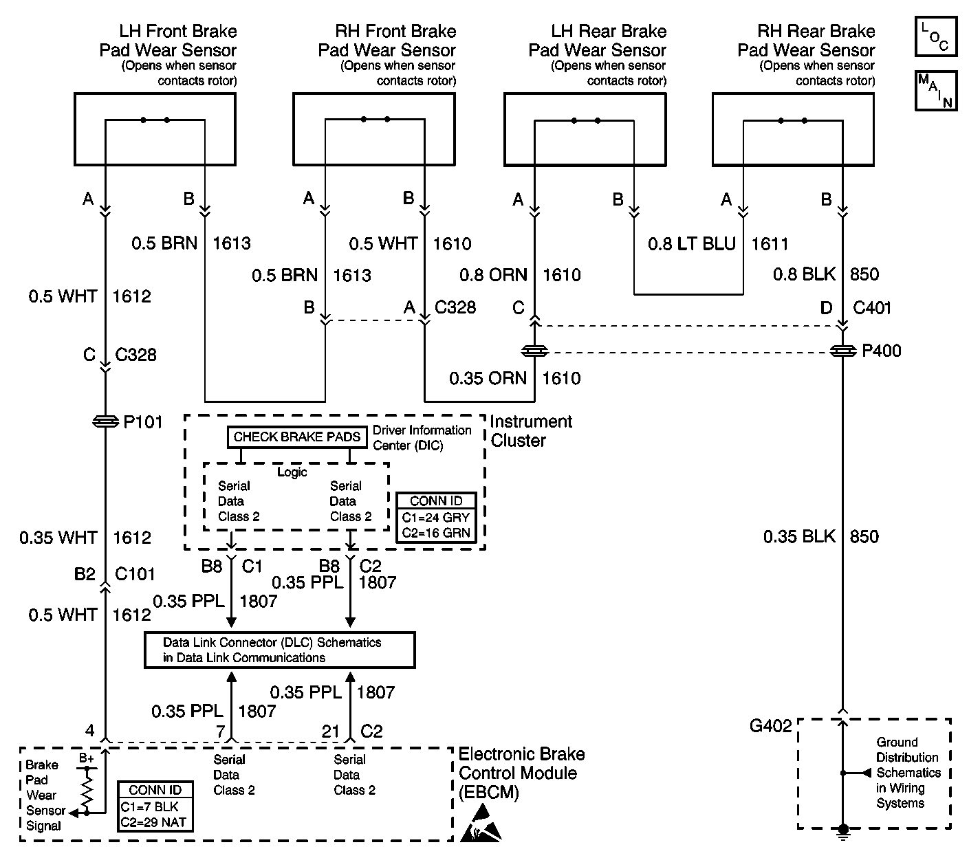
Brake Pad Wear Sensors
Handling ESD Sensitive Parts Notice
Class 2 Serial Data Line (LH Drive)
G402 1 of 2

Circuit Description

The brake pad wear senor signal is normally grounded at the EBCM through the brake pad wear sensors in a series circuit.

Conditions for Running the DTC

The stoplamp switch is open.

Conditions for Setting the DTC

The brake pad wear sensor signal voltage is greater than 2.93 volts for 1 second.

Actions Taken When the DTC Sets

The DIC displays the Check Brake Pads message.

Conditions for Clearing the DTC

    • The condition for the DTC is no longer present and the DTC is cleared with a scan tool.
    • The EBCM automatically clears the history DTC when a current DTC is not detected in 100 consecutive drive cycles.

Step

Action

Value(s)

Yes

No

1

Did you perform the ABS Diagnostic System Check?

--

Go to Step 2

Go to Diagnostic System Check - ABS

2

Since most occurrences of this DTC are caused by worn brake pads, inspect all brake pads and replace if needed. Refer to Brake Pad Inspection and Brake Pads Replacement in Disc Brakes.

Did you find and correct the condition?

--

Go to Step 9

Go to Step 3

3

  1. Install a scan tool.
  2. Turn ON the ignition, with the engine OFF.
  3. Disconnect the connector of the RH rear brake pad wear sensor.
  4. Connect a fused jumper from the brake pad wear signal circuit of the RH rear brake pad wear sensor to a good ground.
  5. With the scan tool, observe the Electronic Brake Lining Wear parameter in the DRP/ABS/TCS data list.

Does the scan tool display indicate that the Electronic Brake Lining Wear parameter is OK?

--

Go to Step 7

Go to Step 4

4

  1. Disconnect the connector of the LH rear brake pad wear sensor.
  2. Connect a fused jumper from the brake pad wear signal circuit of the LH rear brake pad wear sensor to a good ground.

Does the scan tool display indicate that the Electronic Brake Lining Wear parameter is OK?

--

Go to Step 8

Go to Step 5

5

  1. Disconnect the connector of the RH front brake pad wear sensor.
  2. Connect a fused jumper from the brake pad wear signal circuit of the RH front brake pad wear sensor to a good ground.

Does the scan tool display indicate that the Electronic Brake Lining Wear parameter is OK?

--

Go to Step 8

Go to Step 6

6

  1. Disconnect the connector of the LH front brake pad wear sensor.
  2. Connect a fused jumper from the brake pad wear signal circuit of the LH front brake pad wear sensor to a good ground.

Does the scan tool display indicate that the Electronic Brake Lining Wear parameter is OK?

--

Go to Step 8

Go to Step 9

7

Test the ground circuit of the RH rear brake pad wear signal circuit for an open. Refer to Circuit Testing and Wiring Repairs in Wiring Systems.

Did you find and correct the condition?

--

Go to Step 14

Go to Step 10

8

Test the brake pad wear signal circuit for an open between the currently disconnected brake pad wear sensor and the previously disconnected sensor. Refer to Circuit Testing and Wiring Repairs in Wiring Systems.

Did you find and correct the condition?

--

Go to Step 14

Go to Step 10

9

Test the brake pad wear signal circuit for an open between the LH front brake pad wear sensor and the EBCM. Refer to Circuit Testing and Wiring Repairs in Wiring Systems.

Did you find and correct the condition?

--

Go to Step 9

Go to Step 11

10

Inspect for poor connections at the harness connector of the brake pad wear sensor that was last disconnected. Refer to Testing for Intermittent Conditions and Poor Connections and Connector Repairs in Wiring Systems.

Did you find and correct the condition?

--

Go to Step 14

Go to Step 12

11

Inspect for poor connections at the harness connector of the EBCM. Refer to Testing for Intermittent Conditions and Poor Connections and Connector Repairs in Wiring Systems.

Did you find and correct the condition?

--

Go to Step 14

Go to Step 13

12

Replace the brake pad wear sensor that was last disconnected. Refer to Brake Pads Replacement in Disc Brakes.

Did you complete the repair?

--

Go to Step 14

--

13

Important: Perform the setup procedure for the EBCM. An unprogrammed EBCM will result in the following conditions:

   • Inoperative or poorly functioning DRP/ABS/TCS/VSES/VES (if equipped)
   • Set DTC C1248 EBCM Turned the Red Brake Warning Indicator On
   • Set DTC C1255m3 EBCM Internal Malfunction

Replace the EBCM. Refer to Electronic Brake Control Module Replacement .

Did you complete the repair?

--

Go to Step 14

--

14

  1. Use the scan tool in order to clear the DTCs.
  2. Operate the vehicle within the Conditions for Running the DTC as specified in the supporting text.

Does the DTC reset?

--

Go to Step 2

System OK