GM Service Manual Online
For 1990-2009 cars only

Refer to

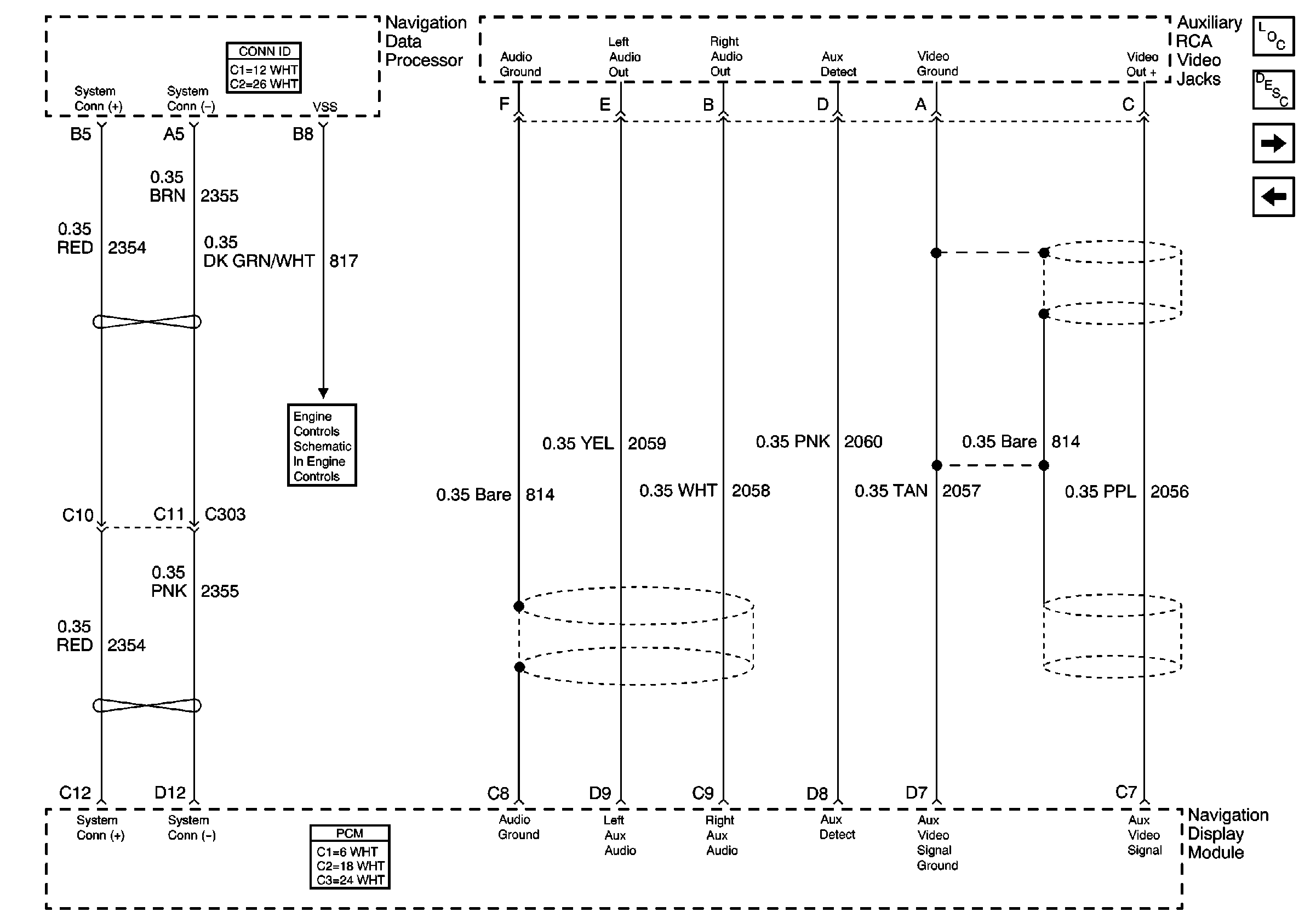
Auxiliary RCA Video Jacks


Object Number: 576410  Size: FS
Navigation System Components
Video and Radio Communication
PWR and GRD
Cruise Control Module

Circuit Description

An auxiliary video input jack closes the auxiliary detection signal circuit. If the auxiliary detection signal circuit opens, the NDH sets this DTC.

Conditions for Running the DTC

The navigation display head (NDH) must detect one of the following power modes:

    • ACC
    • ON
    • RAP
    • RAP UNLCK

The navigation system must be equipped with the TV option (RPO UE7).

The NDH does not set this DTC if B1328 or B1327 is current.

Conditions for Setting the DTC

The NDH tests the auxiliary detection signal circuit every second.

Action Taken When the DTC Sets

    • Cannot play auxiliary inputs in to the TV.
    • The AUX SWITCH is not displayed on the screen.

Conditions for Clearing the DTC

A current DTC clears and becomes a history DTC if the navigation display head (NDH) does not detect the failure for more than one second.

Diagnostic Aids

An intermittent condition may be caused by the following:

    • Mis-routed harness
    • Rubbed through wire insulation
    • Broken wire inside the insulation
    • Poor connections in the harness connectors.

Step

Action

Value(s)

Yes

No

1

Did you perform Diagnostic System Check - Navigation System ?

--

Go to Step 2

Go to Diagnostic System Check - Navigation System

2

  1. Turn the ignition OFF.
  2. Disconnect the auxiliary input jack harness connector.
  3. Turn the ignition ON with the engine OFF.
  4. Measure the voltage between the auxiliary detection signal circuit and ground.

Is the value within the range specified?

4.5-5.5 V

Go to Step 6

Go to Step 3

3

  1. Turn the ignition switch OFF.
  2. Disconnect the navigation display head (NDH) connector.
  3. Test the auxiliary detection signal circuit for an open. Refer to Circuit Testing and Wiring Repairs in Wiring Systems.

Did you find and correct the condition?

--

Go to Step 8

Go to Step 4

4

Inspect for poor connections at the harness connector of the navigation display head (NDH). Refer to Testing for Intermittent Conditions and Poor Connections and Connector Repairs in Wiring Systems.

Did you find and correct the condition?

--

Go to Step 8

Go to Step 5

5

Replace the navigation display head (NDH). Refer to Navigation Display Module Replacement in Entertainment.

Did you complete the replacement?

--

Go to Step 8

--

6

Inspect for poor connections at the harness connector of the auxiliary RCA video jacks. Refer to Testing for Intermittent Conditions and Poor Connections and Connector Repairs in Wiring Systems.

Did you find and correct the condition?

--

Go to Step 8

Go to Step 7

7

Replace the auxiliary RCA video jacks. Refer to Auxiliary Audio/Video Input Control Replacement in Entertainment.

Did you complete the replacement?

--

Go to Step 8

--

8

  1. Use the scan tool to clear the DTCs.
  2. Operate the vehicle as specified within the Conditions for Running the DTC in the supporting text.

Does the DTC reset?

--

Go to Step 2

System OK