GM Service Manual Online
For 1990-2009 cars only

Steering Shaft, Lower Bearing, and Jacket - Assemble - Off Vehicle Right Hand

Tools Required

J 41688 Centering Sphere Installer Tool


    Object Number: 302451  Size: SH

    Notice: Use the correct fastener in the correct location. Replacement fasteners must be the correct part number for that application. Fasteners requiring replacement or fasteners requiring the use of thread locking compound or sealant are identified in the service procedure. Do not use paints, lubricants, or corrosion inhibitors on fasteners or fastener joint surfaces unless specified. These coatings affect fastener torque and joint clamping force and may damage the fastener. Use the correct tightening sequence and specifications when installing fasteners in order to avoid damage to parts and systems.

  1. Install the steering column support assembly (3) to the telebearing and jacket assembly (2) by using the 4 TORX® head screws (1).
  2. Tighten
    Tighten the screws to 17 N·m (13 lb ft).


    Object Number: 302418  Size: SH
  3. Install the tilt actuator assembly (2) to the steering column support assembly (1) and secure by using the 4 TORX® head screws (3).
  4. Tighten
    Tighten the screws to 9 N·m (80 lb in).


    Object Number: 302455  Size: SH
  5. Install the anti rotation ball (1), shoulder bolt (3), compression spring (4) and the retaining ring (5) to the steering column support assembly (2).

  6. Object Number: 302404  Size: SH
  7. Install the telescope actuator assembly (3) to the telebearing and jacket assembly (1) by using the 4 TORX® head screws (2).
  8. Tighten
    Tighten the screws to 9 N·m (80 lb in).


    Object Number: 299879  Size: SH
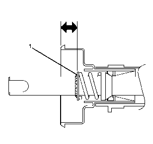
  9. Lubricate the centering sphere (1) with lithium grease. Install the centering sphere (1) and the joint preload spring (2) using J 41688 .

  10. Object Number: 299881  Size: SH
  11. Compress the centering sphere and joint preload spring. Rotate the driver 90 degrees in the clockwise direction until the arms lock in place.

  12. Object Number: 299885  Size: SH
  13. Install the race and upper shaft assembly (1). Rotate the race and upper shaft assembly 90 degrees.

  14. Object Number: 299887  Size: SH
  15. Remove the race and upper shaft assembly with the J 41688 . Once removed, you may remove the race and upper shaft assembly with the centering sphere.

  16. Object Number: 299888  Size: SH
  17. Apply lithium grease to the exposed shaft engagement areas and then install the lower steering shaft assembly.

  18. Object Number: 312534  Size: SH
  19. Install the lower steering shaft assembly (1) into the steering column tilt head assembly.

  20. Object Number: 312531  Size: SH
  21. Install the steering column tilt head assembly (1).
  22. Lubricate the pivot pins with lithium grease.

  23. Object Number: 299893  Size: SH
  24. Firmly seat each pivot pin (1) into the steering column tilt head assembly.
  25. Stake the steering column support assembly in 3 locations around each pivot pin.

  26. Object Number: 302443  Size: SH
  27. Install the ball stud (2) through the opening at the end of the tilt actuator assembly (1) located on the steering column tilt head assembly (3). Lubricate the ball stud (2) with grease number 774 VLF.

  28. Object Number: 312492  Size: SH
  29. Install the turn signal and multifunction switch assembly (1) with the cruise control switch assembly and secure by using the 2 pan head tapping screws (2).
  30. Tighten
    Tighten the screws to 7 N·m (62 lb in).


    Object Number: 299906  Size: SH
  31. Install and align the adapter and bearing assembly (1).
  32. Install the lower bearing seat (3). The lower bearing seat must be in contact with the adapter and bearing assembly (1).
  33. Install the lower bearing spring (2).

  34. Object Number: 299908  Size: SH
  35. Install the lower spring retainer (1). Press the spring retainer onto the lower steering shaft assembly to 36 MM from the end of the adapter and bearing assembly.

  36. Object Number: 299909  Size: SH

    Important: The lower steering shaft assembly must be rotated to the center position or 12 o'clock position.

  37. Install the dual triangle sensor assembly (1).
  38. 21.1. Rotate the center of the sensor until the pin slides into the locating hole. It may take up to 5 revolutions.
    21.2. Push the sensor onto the lower steering shaft assembly until the sensor locating finger falls into the slot on the lower steering shaft assembly.

    Object Number: 299910  Size: SH
  39. Install the sensor retainer (1). Align the slots of the sensor retainer (1) to the ribs of the adapter and bearing assembly. Push the sensor retainer (1) until it contacts the dual triangle sensor assembly.
  40. Install the steering shaft seal (2).

  41. Object Number: 312503  Size: SH
  42. Install the blue (1) connector.
  43. Install the windshield wiper and washer switch. Refer to Windshield Wiper and Washer Switch Assembly - Assemble - Off Vehicle .
  44. Install the steering column tilt head components. Refer to Steering Column Tilt Head Housing - Assemble - Off Vehicle .

Steering Shaft, Lower Bearing, and Jacket - Assemble - Off Vehicle Power Tilt and Telescope

Tools Required

J 41688 Centering Sphere Installer Tool


    Object Number: 302451  Size: SH

    Notice: Use the correct fastener in the correct location. Replacement fasteners must be the correct part number for that application. Fasteners requiring replacement or fasteners requiring the use of thread locking compound or sealant are identified in the service procedure. Do not use paints, lubricants, or corrosion inhibitors on fasteners or fastener joint surfaces unless specified. These coatings affect fastener torque and joint clamping force and may damage the fastener. Use the correct tightening sequence and specifications when installing fasteners in order to avoid damage to parts and systems.

  1. Install the steering column housing support assembly (3) to the telebearing and jacket assembly (2) by using 4 TORX® head screws (1).
  2. Tighten
    Tighten the screws to 17 N·m (13 lb ft).


    Object Number: 302418  Size: SH
  3. Install the tilt actuator assembly (2) to the steering column housing support assembly (1) and secure by using 4 TORX® head screws (3).
  4. Tighten
    Tighten the screws to 9 N·m (80 lb in).


    Object Number: 302455  Size: SH
  5. Install the anti rotation ball (1), shoulder bolt (3), compression spring (4) and the retaining ring (5) to the steering column housing support assembly (2).

  6. Object Number: 302404  Size: SH
  7. Install the telescope actuator assembly (3) to the telebearing and jacket assembly (1) by using 4 TORX® head screws (2).
  8. Tighten
    Tighten the screws to 9 N·m (80 lb in).


    Object Number: 332949  Size: SH
  9. Lubricate the centering sphere (1) with lithium grease. Install the centering sphere (1) and the joint preload spring (2) using J 41688 .

  10. Object Number: 299881  Size: SH
  11. Compress the centering sphere and joint preload spring. Rotate the driver 90 degrees in the clockwise direction until the arms lock in place.

  12. Object Number: 299885  Size: SH
  13. Install the upper shaft assembly (1). Rotate the upper shaft assembly 90 degrees.

  14. Object Number: 299887  Size: SH
  15. Remove the upper shaft assembly with the J 41688 . Rotate the upper shaft assembly 90 degrees and remove from J 41688 .

  16. Object Number: 299888  Size: SH
  17. Apply lithium grease to the exposed shaft engagement areas and then install the steering shaft assembly.

  18. Object Number: 312534  Size: SH
  19. Install the steering shaft assembly (1) into the steering column tilt head assembly.

  20. Object Number: 312531  Size: SH
  21. Install the steering column tilt head assembly (1).

  22. Object Number: 299893  Size: SH
  23. Install 2 pivot pins (1).
  24. Stake the pivot pin locations (1) in 3 locations.

  25. Object Number: 302443  Size: SH
  26. Install the ball stud (2) through the opening at the end of the tilt actuator assembly (1) located on the steering column tilt head assembly (3). Lubricate the ball stud (2) with grease #774 VLF.

  27. Object Number: 332940  Size: SH
  28. Install the turn signal and multifunction switch assembly and secure by using 2 pan head tapping screws.
  29. Tighten
    Tighten the screws to 7 N·m (62 lb in).


    Object Number: 332943  Size: SH
  30. Install and align the adapter and bearing assembly (3).
  31. Install the wave washer (2).
  32. Install the lower spring retainer (1).

  33. Object Number: 371181  Size: SH
  34. The upper steering shaft assembly must be rotated to the center position with the block tooth (1) in the 12 o'clock position.

  35. Object Number: 323005  Size: SH
  36. Install the hi resolution steering wheel position sensor assembly (1).
  37. 20.1. Rotate the center of the sensor until the pin slides into the locating hole. The center of the sensor will lock up when centered. It may take up to five revolutions.
    20.2. Push the sensor onto the steering shaft assembly until the sensor locating finger falls into the slot on the steering shaft assembly.
    20.3. Remove the pin from the sensor.

    Object Number: 299910  Size: SH
  38. Install the sensor retainer (1). Align the slots of the sensor retainer to the ribs of the adapter and bearing assembly. Push the sensor retainer (1) until it contacts the hi resolution steering wheel position sensor assembly.
  39. Install the steering shaft seal (2).
  40. Install the windshield wiper and washer switch. Refer to Windshield Wiper and Washer Switch Assembly - Assemble - Off Vehicle .
  41. Install the steering column tilt head components. Refer to Steering Column Tilt Head Housing - Assemble - Off Vehicle .

Steering Shaft, Lower Bearing, and Jacket - Assemble - Off Vehicle Manual Tilt

Tools Required

J 41688 Centering Sphere Installer Tool


    Object Number: 299877  Size: SH

    Important: You will need to replace the steering column support assembly if it has been staked three times.

  1. Install the steering column support assembly (1) to the steering column jacket assembly (3).
  2. Notice: Use the correct fastener in the correct location. Replacement fasteners must be the correct part number for that application. Fasteners requiring replacement or fasteners requiring the use of thread locking compound or sealant are identified in the service procedure. Do not use paints, lubricants, or corrosion inhibitors on fasteners or fastener joint surfaces unless specified. These coatings affect fastener torque and joint clamping force and may damage the fastener. Use the correct tightening sequence and specifications when installing fasteners in order to avoid damage to parts and systems.

  3. Install 4 TORX® screws (2).
  4. Tighten
    Tighten the screws to 17 N·m (13 lb ft).


    Object Number: 299879  Size: SH
  5. Lubricate the centering sphere (1) with lithium grease. Install the centering sphere (1) and the joint preload spring (2) using J 41688 .

  6. Object Number: 299881  Size: SH
  7. Compress the centering sphere and joint preload spring. Rotate the driver 90 degrees in the clockwise direction until the arms lock in place.

  8. Object Number: 299885  Size: SH
  9. Install the race and upper shaft assembly (1). Rotate the race and upper shaft assembly 90 degrees.

  10. Object Number: 299887  Size: SH
  11. Remove the race and upper shaft assembly with J 41688 .
  12. Rotate the race and upper shaft assembly 90 degrees up and remove with the centering sphere.

  13. Object Number: 299888  Size: SH
  14. Apply lithium grease to the exposed shaft engagement areas and then Install the lower steering shaft assembly.

  15. Object Number: 295950  Size: SH
  16. Install the steering shaft assembly (1) into the steering column tilt head assembly.

  17. Object Number: 299891  Size: SH
  18. Install the steering column tilt head assembly (1).
  19. Install 2 pivot pins (2).

  20. Object Number: 299893  Size: SH
  21. Stake the pivot pins in 3 locations (1).

  22. Object Number: 295941  Size: SH
  23. Install the signal switch housing (1).
  24. Install 2 pan head tapping screws (2).
  25. Tighten
    Tighten the screws to 7 N·m (62 lb in).


    Object Number: 295939  Size: SH
  26. Install the turn signal and multifunction switch assembly (1).

  27. Object Number: 293235  Size: SH
  28. Install the 2 pan head tapping screws.
  29. Tighten
    Tighten the screws to 7 N·m (62 lb in).


    Object Number: 299906  Size: SH
  30. Install and align the adapter and bearing assembly (1).
  31. Install the lower bearing seat (3). The lower bearing seat must be in contact with the adapter and bearing assembly.
  32. Install the lower bearing spring (2).

  33. Object Number: 299908  Size: SH
  34. Install the lower spring retainer (1). Press the spring retainer onto the steering shaft assembly to 36 MM +/- 0.5 MM from the end of the adapter and bearing assembly.

  35. Object Number: 371181  Size: SH
  36. The upper steering shaft assembly must be rotated to the center position with the block tooth (1) in the 12 o'clock position.

  37. Object Number: 323005  Size: SH
  38. Install the hi resolution steering wheel position sensor assembly (1).
  39. 22.1. Rotate the center of the sensor until the pin slides into the locating hole. The center of the sensor will lock up when centered. It may take up to five revolutions.
    22.2. Push the sensor onto the steering shaft assembly.
    22.3. Remove the pin from the sensor.

    Object Number: 299910  Size: SH
  40. Install the sensor retainer (1). Align the slots of the sensor retainer to the ribs of the adapter and bearing assembly. Push the sensor retainer (1) until it contacts the hi resolution steering wheel position sensor assembly.
  41. Install the steering shaft seal (2).

  42. Object Number: 293258  Size: SH
  43. Route the wire harness assembly along the steering column jacket assembly.

  44. Object Number: 299914  Size: SH
  45. Install the blue (1), black (2), and gray (3) connectors.

  46. Object Number: 293260  Size: SH
  47. Insert the wire harness assembly (1) into the wire harness strap (2).

  48. Object Number: 293259  Size: SH
  49. Install the 2 wire harness straps (2). Install 1 wire harness strap (2) to the steering column tilt head assembly (1).
  50. Install the tilt spring only. Refer to Tilt Spring - Assemble - Off Vehicle .
  51. Install the windshield wiper and washer switch. Refer to Windshield Wiper and Washer Switch Assembly - Assemble - Off Vehicle .
  52. Install the steering column tilt head components. Refer to Steering Column Tilt Head Housing - Assemble - Off Vehicle