GM Service Manual Online
For 1990-2009 cars only
Makes
🢒
Cadillac
🢒
2002
🢒
Seville
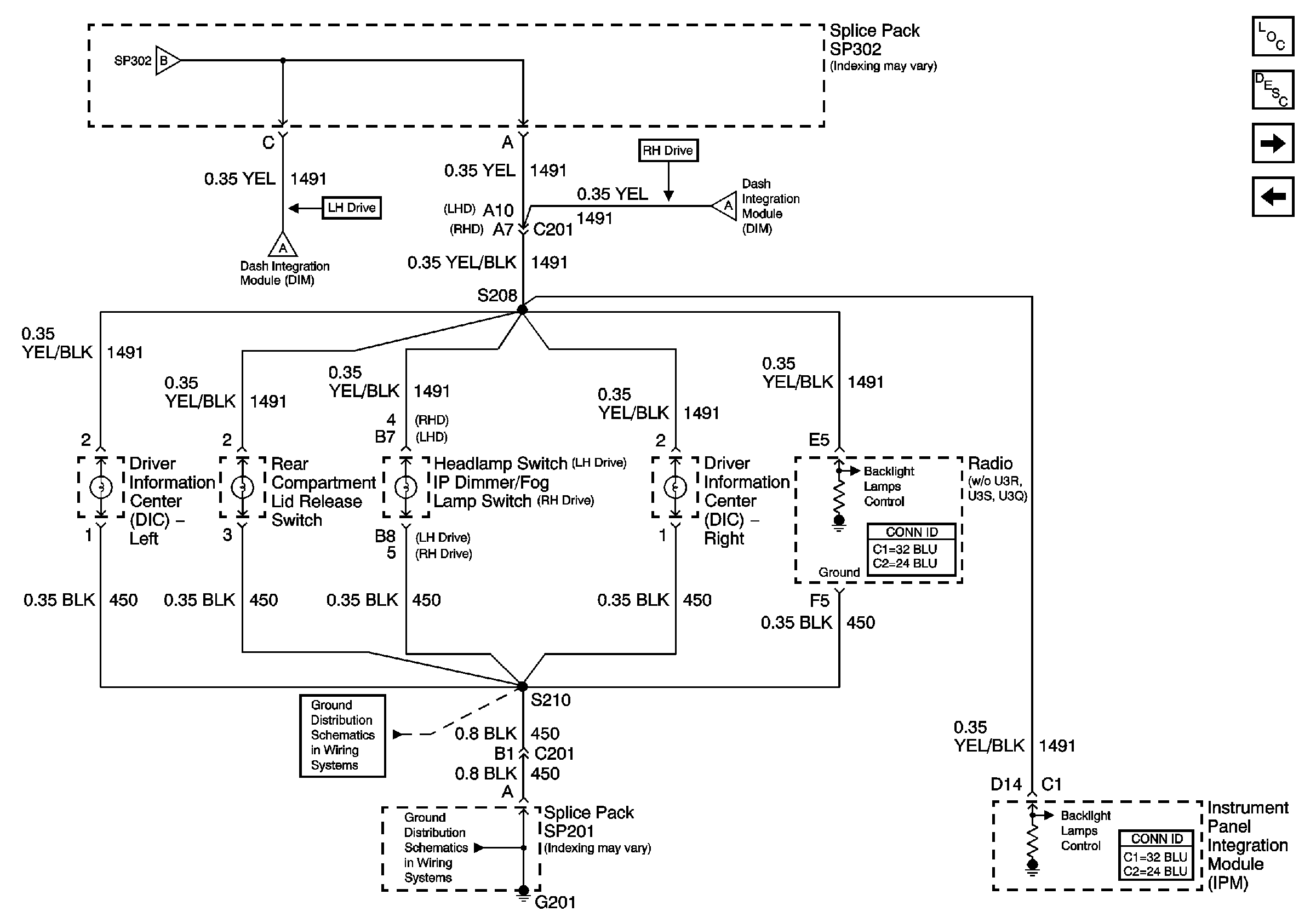
🢒 DIC and Headlamp Switch
DIC and Headlamp Switch
DIC and Headlamp Switch
Master Electrical Component List
Interior Lighting Systems Description and Operation
Steering Wheel Controls (LH Drive)
Ashtray Lamp and Steering Wheel Controls
G201 2 of 3
G201 2 of 3
Dimming Control
Ashtray Lamp and Steering Wheel Controls
Dimming Control