GM Service Manual Online
For 1990-2009 cars only
Makes
🢒
Cadillac
🢒
2002
🢒
Seville
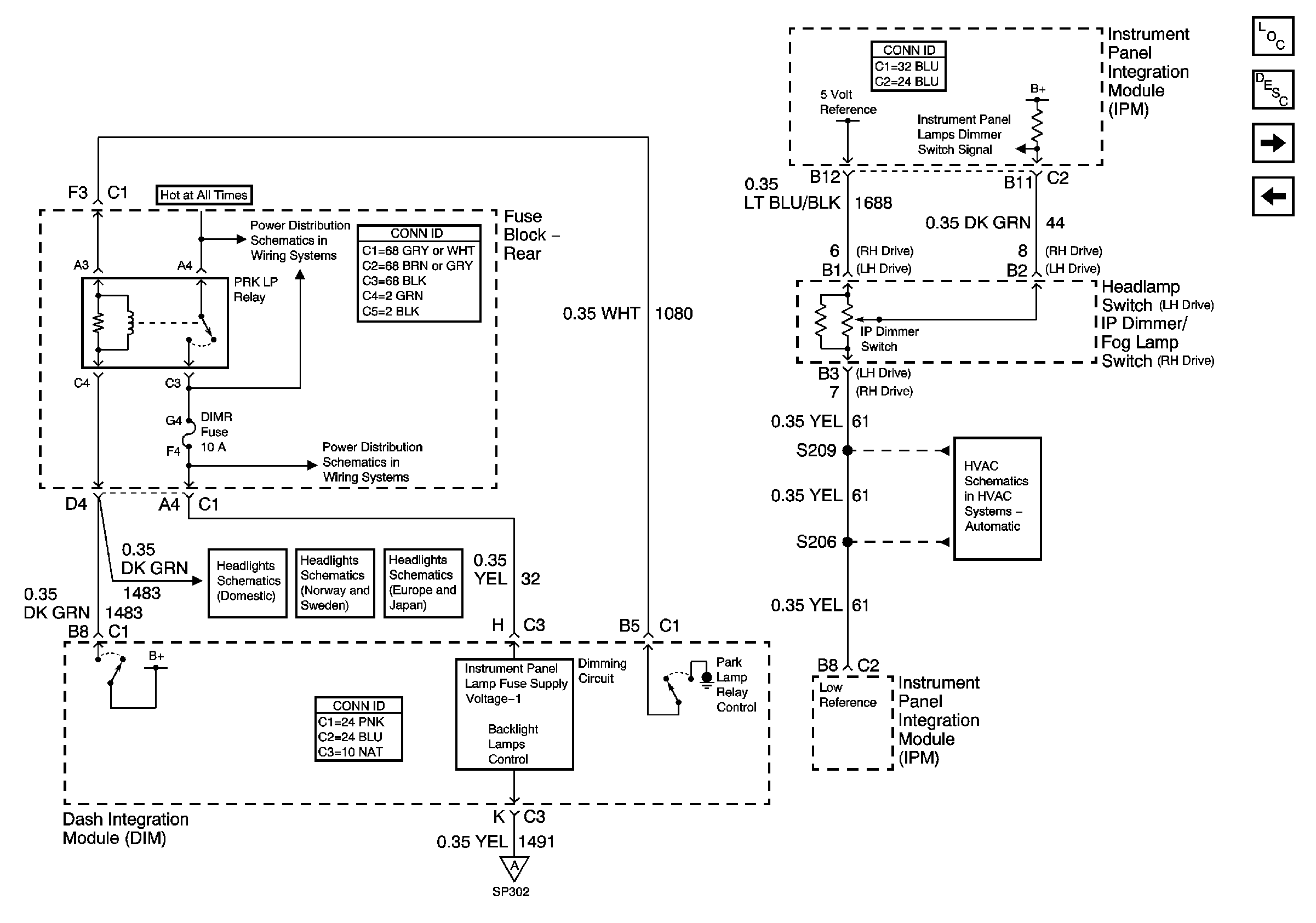
🢒 Dimming Control
Dimming Control
Dimming Control
Master Electrical Component List
Interior Lighting Systems Description and Operation
Ashtray Lamp and Steering Wheel Controls
Class 2 Signals
Temperature Sensors - LH Drive
DIC and Headlamp Switch
Low Beam Headlamps (Generation 3.0)
Low Beam Headlamps (Generation 2.5)
Low Beam Headlamps (Generation 2.5)
Battery Feed to Fuse Block - Rear
Battery Feed to Fuse Block - Rear