GM Service Manual Online
For 1990-2009 cars only
Makes
🢒
Cadillac
🢒
2004
🢒
Seville
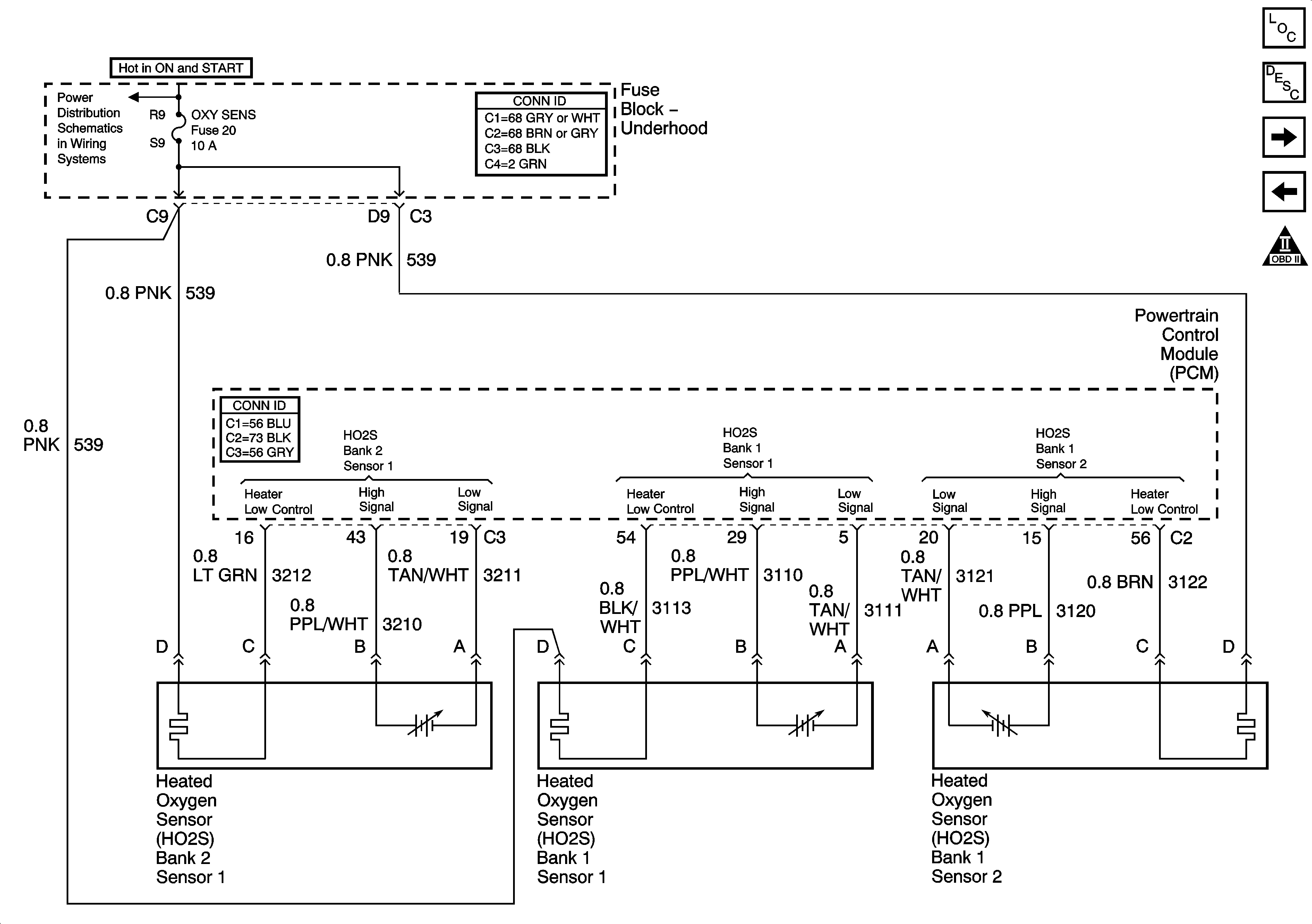
🢒 Engine Controls Schematics-Engine Data Sensors (HO2S)
Engine Controls Schematics-Engine Data Sensors (HO2S)
Engine Data Sensors -- HO2S
Master Electrical Component List
Electronic Ignition (EI) System Description
Odd bank Ignition Modules
Engine Controls Schematics-Engine Data Sensors, Pressure and Temperature
OBD II Symbol Description Notice
Power Distribution Schematics-Battery Feed to Fuseblock Underhood