GM Service Manual Online
For 1990-2009 cars only
Makes
🢒
Cadillac
🢒
2004
🢒
Seville
🢒 Engine Controls Schematics-Transmission Controls A/T
Engine Controls Schematics-Transmission Controls A/T
Transmission Controls -- A/T
Master Electrical Component List
Powertrain Control Module Description
Engine Controls Schematics-Controlled/Monitored Subsystem References
OBD II Symbol Description Notice
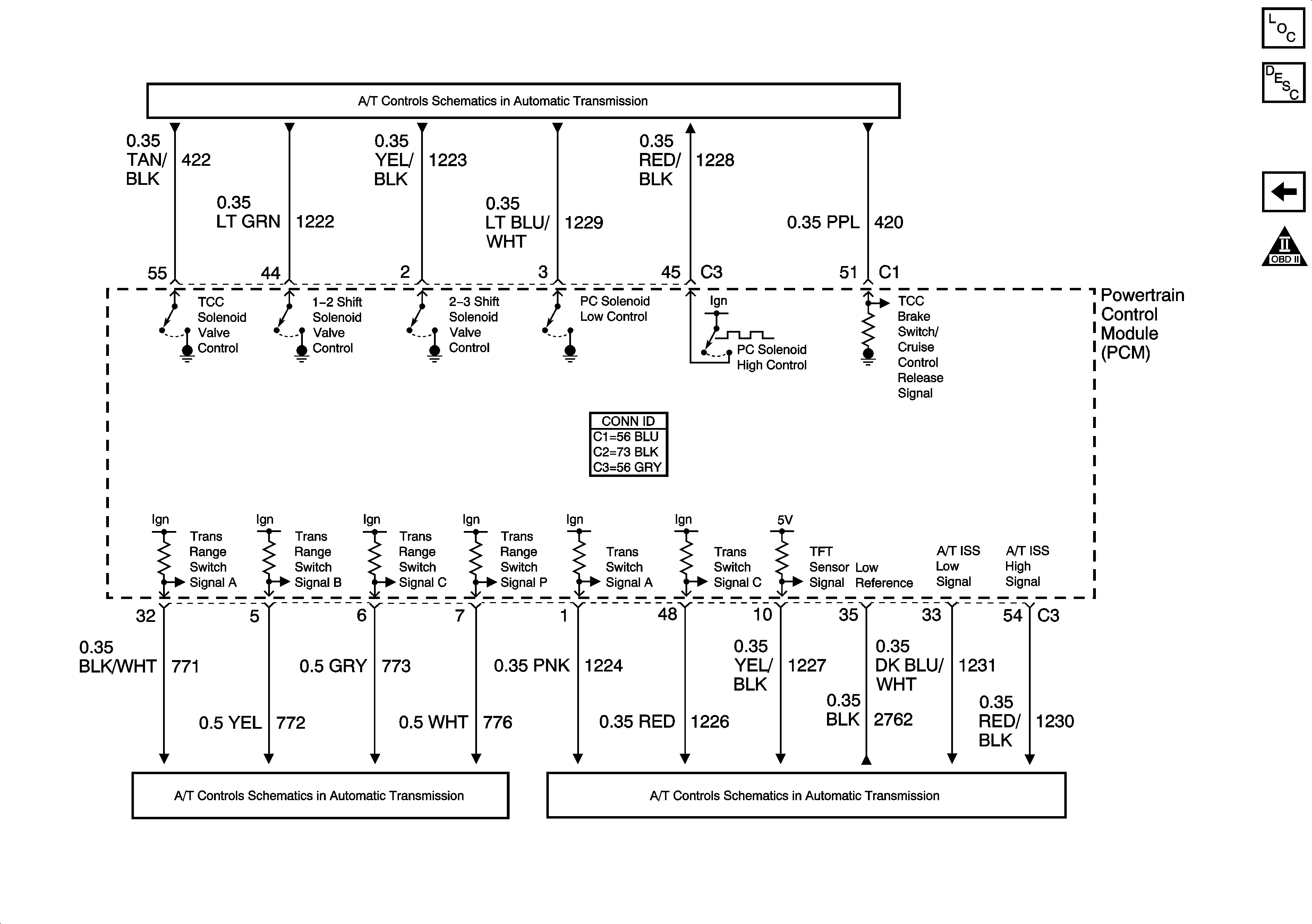
Automatic Transmission Controls Schematics-TCC/Cruise Rel. Switch,Solenoids
Automatic transmission Controls-Transaxle Sensors
Automatic Transmission Controls-Trans Internal Mode Switch (IMS) and (VSS)