GM Service Manual Online
For 1990-2009 cars only
Makes
🢒
Cadillac
🢒
2004
🢒
Seville
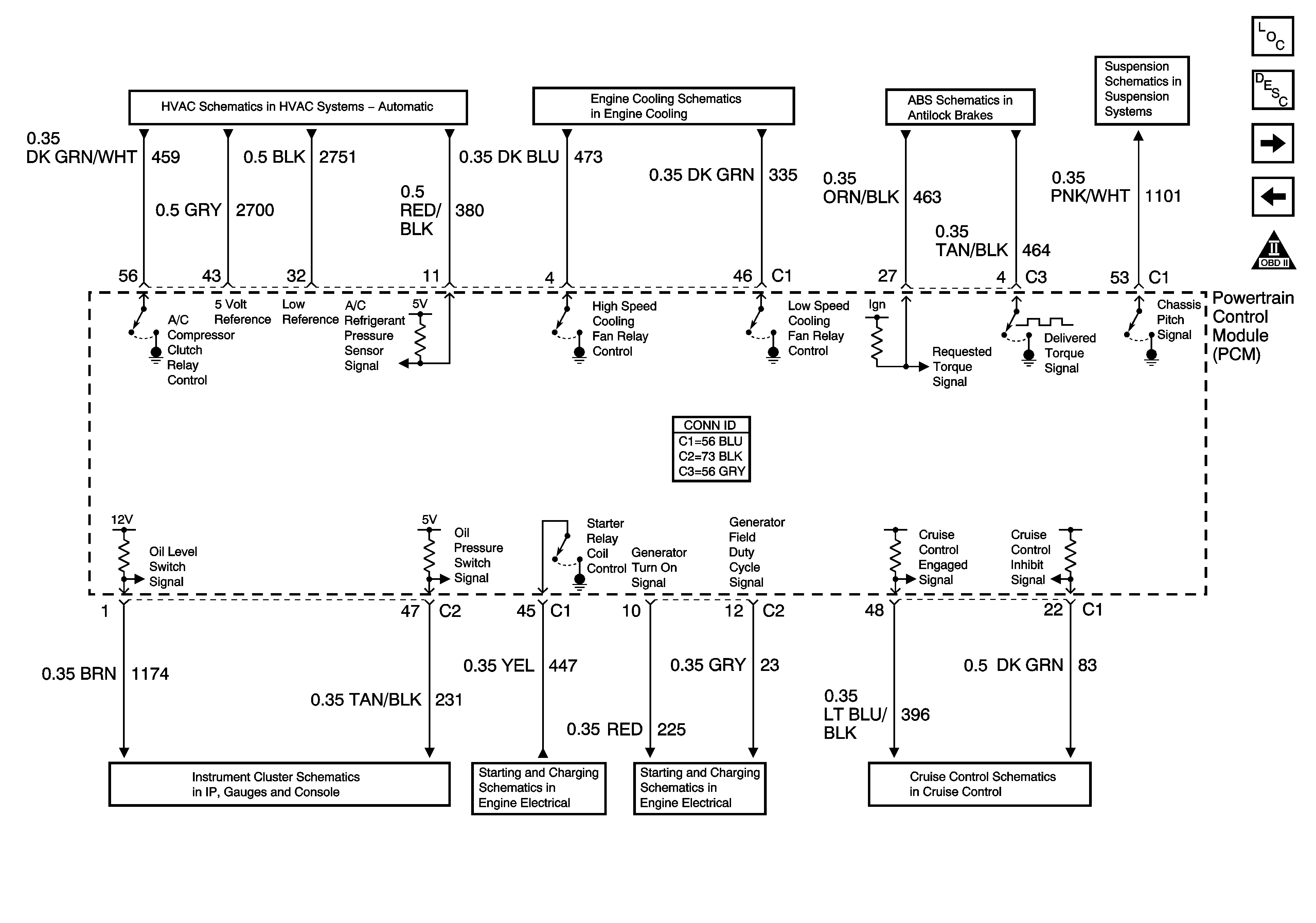
🢒 Engine Controls Schematics-Controlled/Monitored Subsystem References
Engine Controls Schematics-Controlled/Monitored Subsystem References
Controlled/Monitored Subsystem References
Master Electrical Component List
Powertrain Control Module Description
Engine Controls Schematics-Transmission Controls A/T
Engine Controls Schematics-Device COntrols
OBD II Symbol Description Notice
HVAC Schematics-A/C Compressor Clutch
Engine Cooling Schematics-Cooling Fans
ABS Schematics-Suspension Inputs,Class 2, and Variable Effort Steering
Suspension Controls Schematics-Power and Ground
Instrument Cluster Schematics-PCM and IPM Signals
Starting and Charging Schematics-Starting Controls
Starting and Charging Schematics-Generator Controls
Cruise Control Schematics-PCM Controls and Class 2