GM Service Manual Online
For 1990-2009 cars only
Makes
🢒
Cadillac
🢒
2004
🢒
Seville
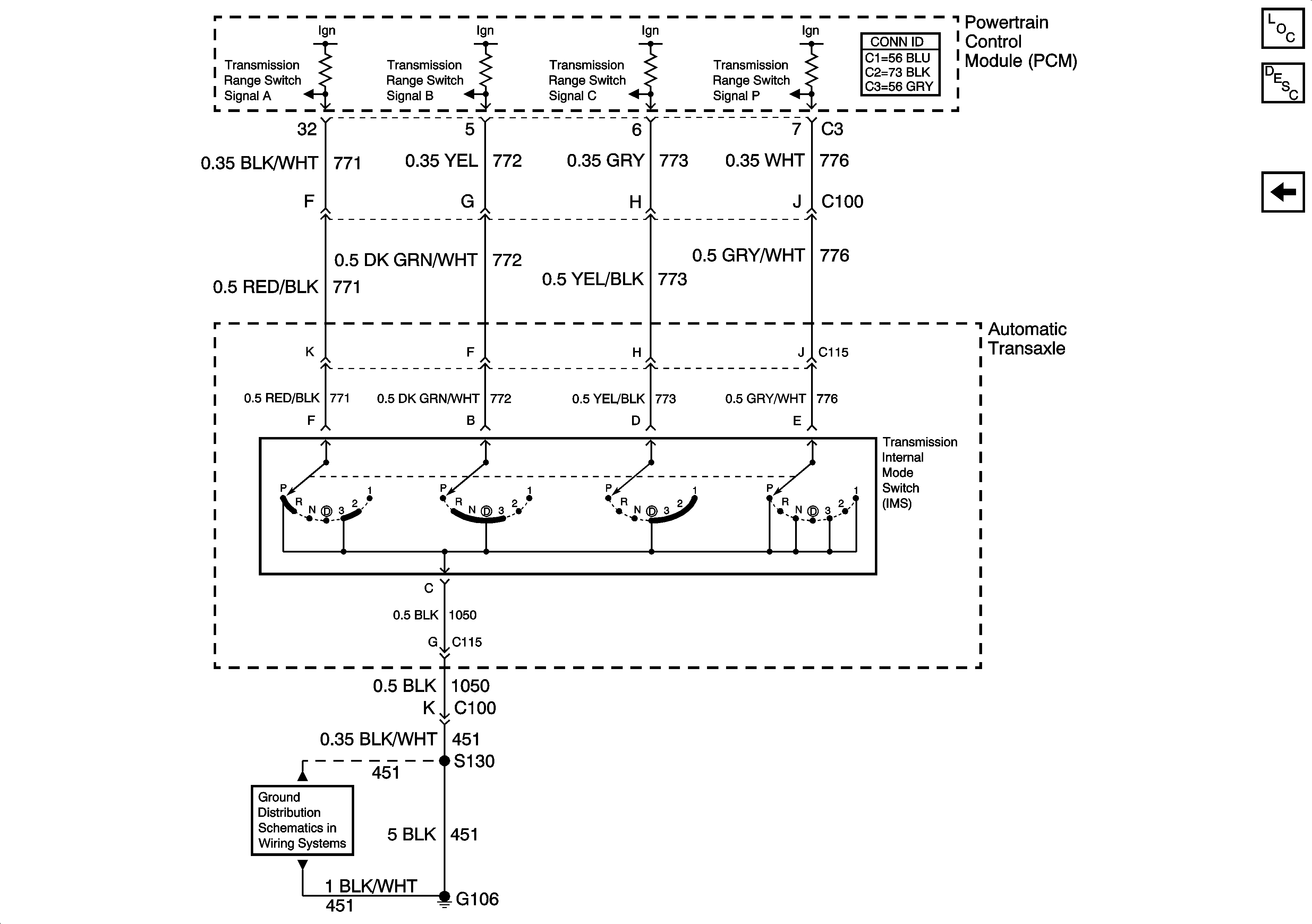
🢒 Automatic Transmission Shift Lock Control Schematics-Internal Mode Switch
Automatic Transmission Shift Lock Control Schematics-Internal Mode Switch
Automatic Transaxle Fluid Pressure Manual Valve Position Switch
Master Electrical Component List
Automatic Transmission Shift Lock Control Description and Operation
Shift Lock Controls Schematics-Reverse Lockout and Shift Lock Solenoid
Ground Distribution Schematics-G106