GM Service Manual Online
For 1990-2009 cars only
Makes
🢒
Cadillac
🢒
1998
🢒
Seville - RHD
🢒
Body and Accessories
🢒
Lighting Systems
🢒 Interior Lights Schematics
Figure
1:
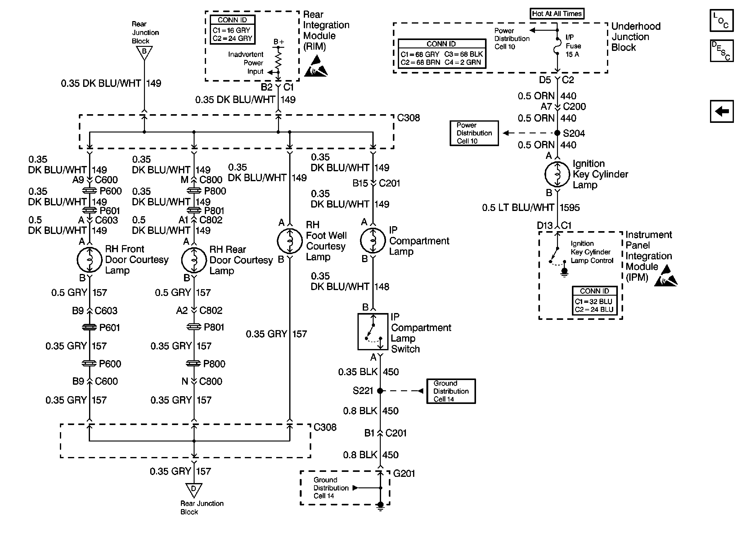
Cell 114: Door Jamb Switches
Lighting Systems Components
Interior Lights Circuit Description
Cell 114: Interior Lamp Relays
Handling ESD Sensitive Parts Notice
Handling ESD Sensitive Parts Notice
Handling ESD Sensitive Parts Notice
Handling ESD Sensitive Parts Notice
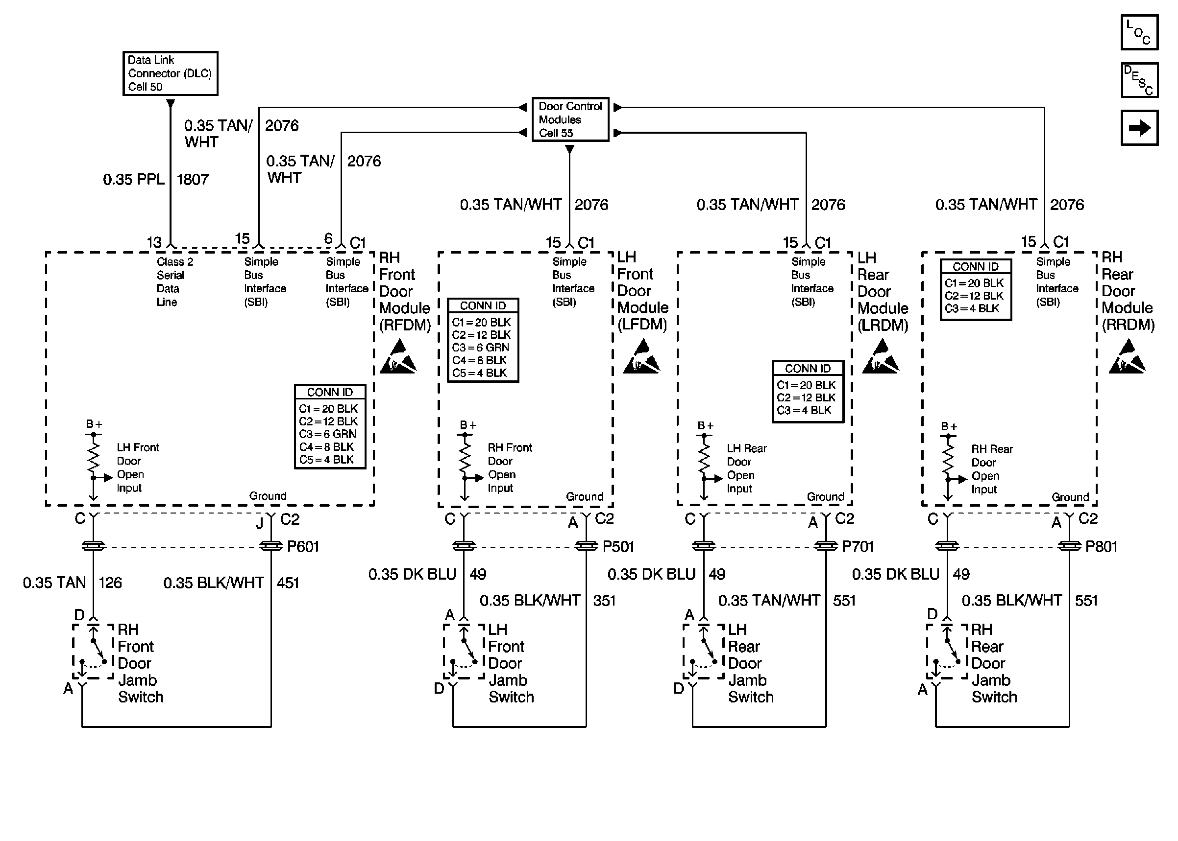
Cell 50: Class Serial Data Line (1 of 2)
Door Control Module Schematics
Power Door Systems Connector End Views
Power Door Systems Connector End Views
Power Door Systems Connector End Views
Power Door Systems Connector End Views
Figure
2:
Cell 114: RH Courtesy, IP Compartment, and Ignition Key Cylinder Lamps
Lighting Systems Components
Interior Lights Circuit Description
Cell 114: Vanity and Reading Lamps, Interior Lamp Switch
Handling ESD Sensitive Parts Notice
Handling ESD Sensitive Parts Notice
Cell 10: PCM BATT, EXPORT BRK, IP, ABS SOL, and ABS MOT Fuses
Cell 10: PCM BATT, EXPORT BRK, IP, ABS SOL, and ABS MOT Fuses
Cell 14: G201 (2 of 2)
Cell 14: G201 (2 of 2)
Cell 114: Interior Lamp Relays
Cell 114: Interior Lamp Relays
Body Control System Connector End Views
Power and Grounding Connector End Views
Body Control System Connector End Views