GM Service Manual Online
For 1990-2009 cars only
Makes
🢒
Chevrolet
🢒
1997
🢒
Astro - 2WD
🢒 Transmission Shift Controls
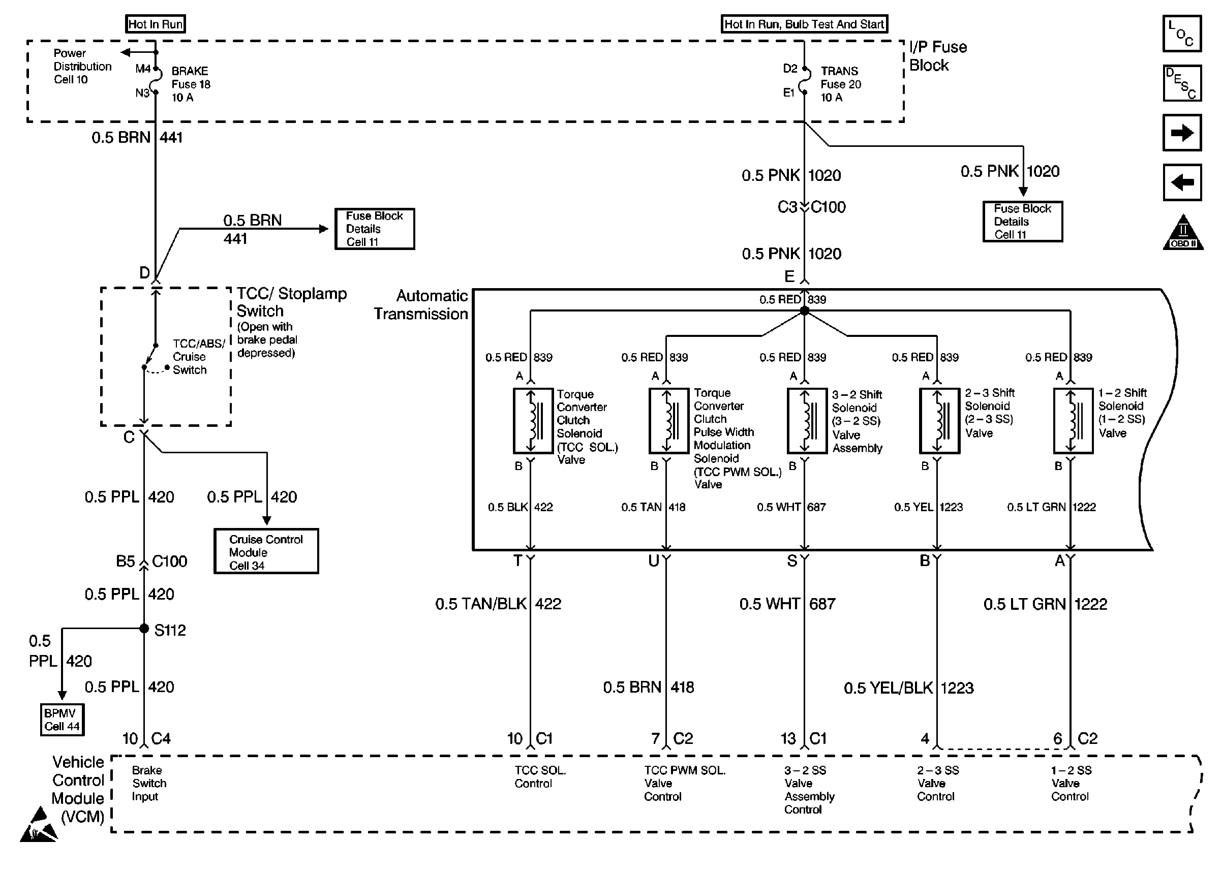
Transmission Shift Controls
Transmission Shift Controls
Engine Controls Components
Transmission Switch Input Controls
Speed and Cruise Controls
OBD II ICON