GM Service Manual Online
For 1990-2009 cars only
Makes
🢒
Chevrolet
🢒
1998
🢒
Astro - 2WD
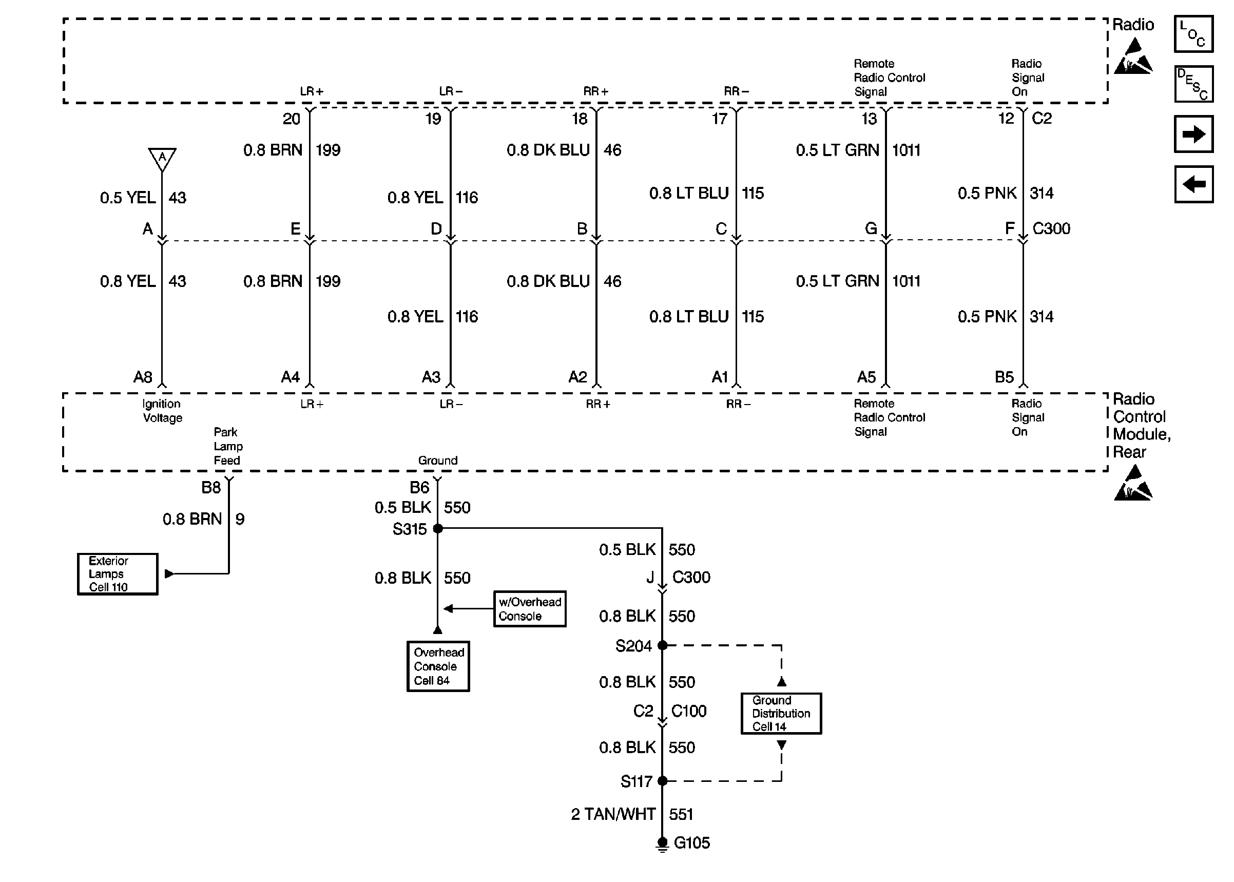
🢒 Cell 150 Radio/Audio Systems Premium Radio with Rear Radio Control(2 of 3)
Cell 150 Radio/Audio Systems Premium Radio with Rear Radio Control(2 of 3)
Cell 150 Radio/Audio Systems Premium Radio with Rear Radio Control (2 of 3)
Cell 150 Radio/Audio Systems Premium Radio with Rear Control (1 of3)
CHMSL, License, Rear Marker, Tail/Stop, and Turn Signal Lamps
Cell 84 Electronic Compass with Temperature Display
Cell 14 (G107, G105)
Handling ESD Sensitive Parts Notice
Handling ESD Sensitive Parts Notice
Entertainment Components
Radio/Audio System Circuit Description
Cell 150 Radio/Audio Systems Premium Radio with Rear Control (2 of2)
Cell 150 Radio/Audio Systems Premium Radio with Rear Control (1 of3)