GM Service Manual Online
For 1990-2009 cars only
Makes
🢒
Chevrolet
🢒
2000
🢒
Astro - 2WD
🢒 Rear Radio Control Module (Premium Radio w/ Rear Radio Control)
Rear Radio Control Module (Premium Radio w/ Rear Radio Control)
Rear Radio Control Module (Premium Radio w/ Rear Radio Control)
Entertainment Components
Radio/Audio System Circuit Description
Speakers and Sub-Woofer (Premium Radio w/ Rear Control)
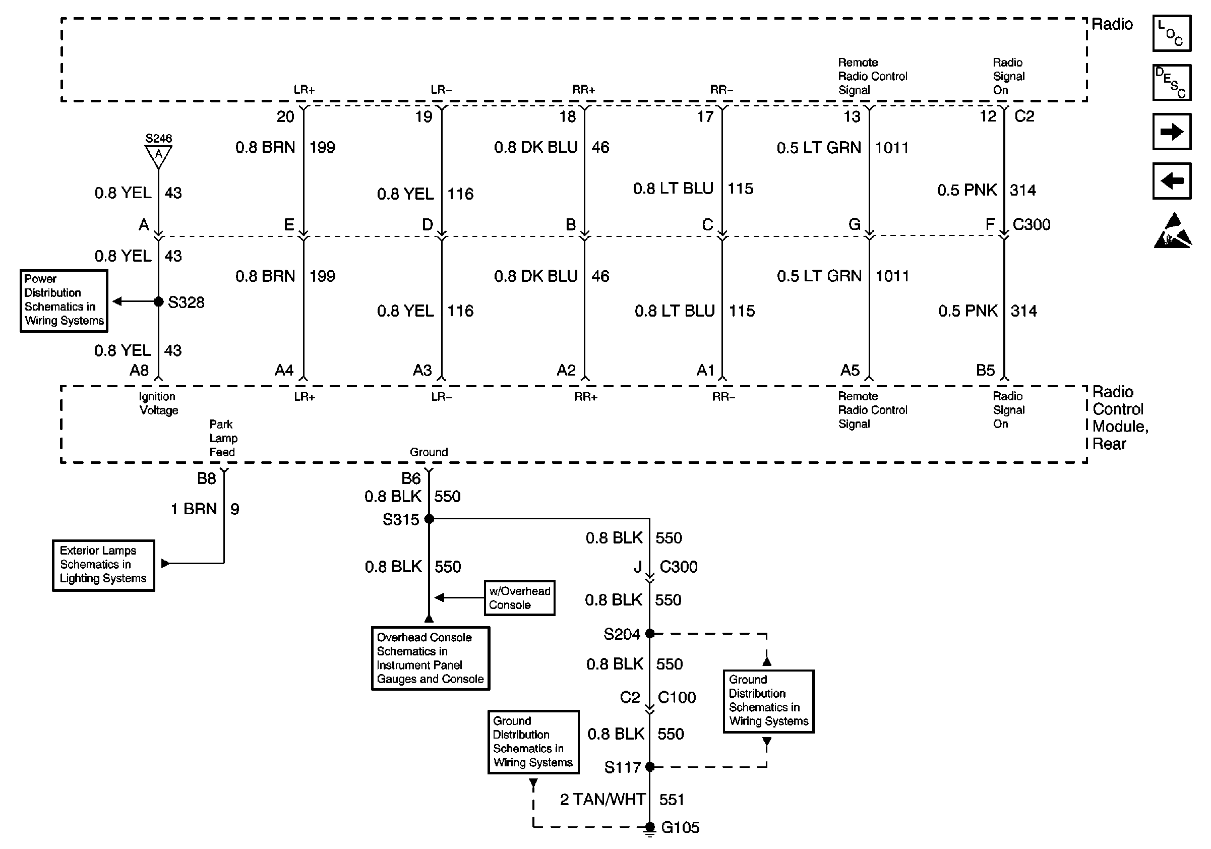
Power, Ground, and Remote CD (Premium Radio w/ Rear Control)
Handling ESD Sensitive Parts Notice
Power, Ground, and Remote CD (Premium Radio w/ Rear Control)
WIPER Fuse 17, RADIO ACCY Fuse 2 and RR WIPER Fuse 23
Window and Door Lock Switches
Overhead Console
G105 and G107
G105 and G107