GM Service Manual Online
For 1990-2009 cars only
Makes
🢒
Chevrolet
🢒
2001
🢒
Astro - 2WD
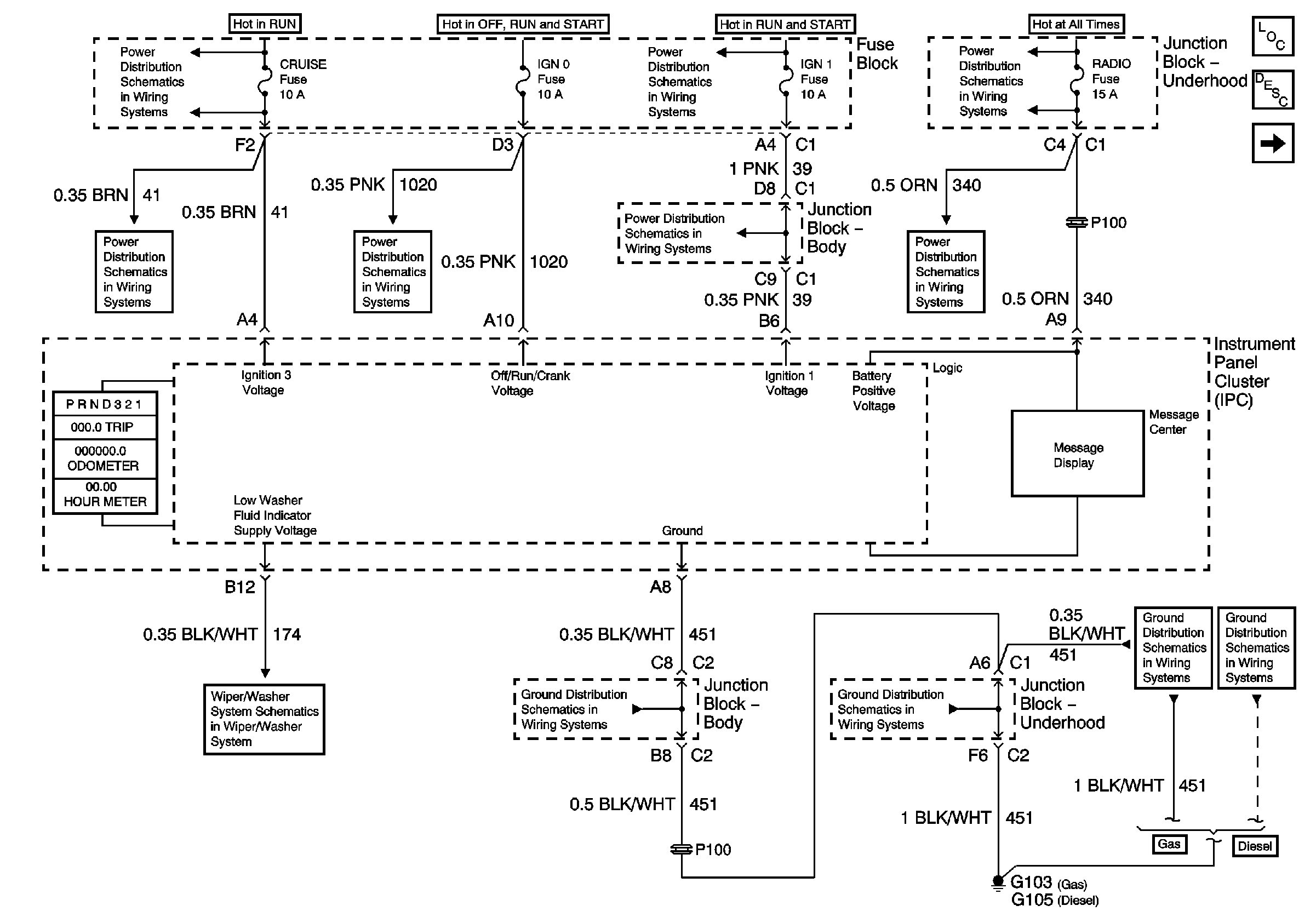
🢒 Power and Ground
Power and Ground
Power and Ground
Master Electrical Component List
Instrument Cluster Description and Operation
Indicators and Serial Data
IGNITION, RUN, ACCESSORY, and RAP Bus Bars, RAP #1 and RAP #2 Fuses
BRAKE, CRUISE, HTR A/C, RR WPR, WS WPR, and SEO ACCY Fuses
RTD, RDO AMP, CRANK, and IGN 0 Fuses
IGNITION, RUN, and START Bus Bar
IGN 1, AIR BAG, and SEO IGN Fuses
B+ Bus Bar
AIR, RADIO, ECM B, FRT HVAC, and CIGAR Fuses
Wiper/Washer System Schematics - Front
G103 and G105 - Gas
G103 and G105 - Gas
G103 and G105 - Gas
G105 - Diesel