GM Service Manual Online
For 1990-2009 cars only
Makes
🢒
Chevrolet
🢒
2001
🢒
Astro - 2WD
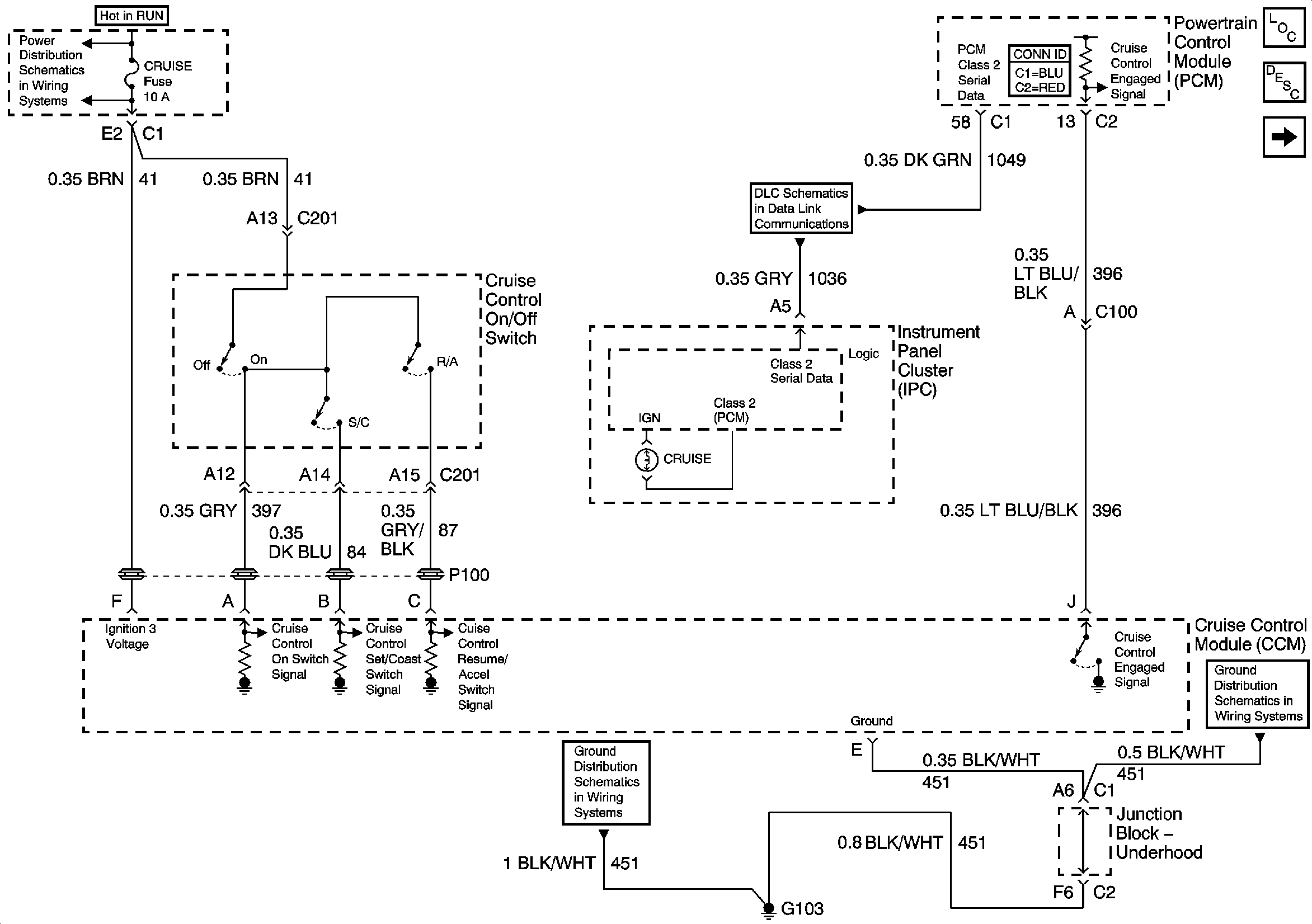
🢒 Cruise Control Module (CCM) and Cruise Control On/Off Switch
Cruise Control Module (CCM) and Cruise Control On/Off Switch
Cruise Control Module (CCM) and Cruise Control On/Off Switch
Master Electrical Component List
Cruise Control Description and Operation w/o ETC
Cruise Control Module (CCM), Clutch Pedal Position (CPP) Switch, Stoplamp Switch
IGNITION, RUN, ACCESSORY, and RAP Bus Bars, RAP #1 and RAP #2 Fuses
IGNITION, RUN, and START Bus Bar
IGN 1, AIR BAG, and SEO IGN Fuses
Indicators and Serial Data
SP205
G103 and G105 - Gas
G103 and G105 - Gas