GM Service Manual Online
For 1990-2009 cars only
Makes
🢒
Chevrolet
🢒
2001
🢒
Astro - 2WD
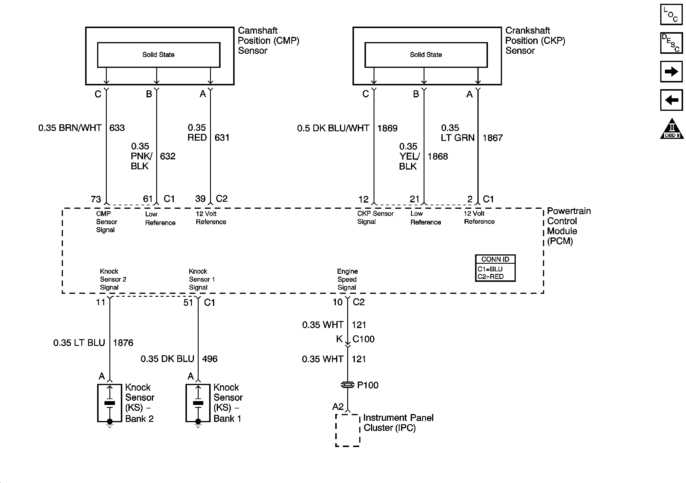
🢒 Camshaft Position Sensor (CMP), Crankshaft Position Sensor (CKP), and Knock Sensors
Camshaft Position Sensor (CMP), Crankshaft Position Sensor (CKP), and Knock Sensors
Camshaft Position Sensor (CMP), Crankshaft Position Sensor (CKP), and Knock Sensors
Master Electrical Component List
Throttle Actuator Control (TAC) System Description
Fuel Pump Relay, Fuel Tank Pressure Sensor, Primary and Secondary Fuel Pump and Sender Assemblies
INJ A Fuse, Ignition Coils, and PCM
OBD II Symbol Description Notice