GM Service Manual Online
For 1990-2009 cars only
Makes
🢒
Chevrolet
🢒
2001
🢒
Astro - 2WD
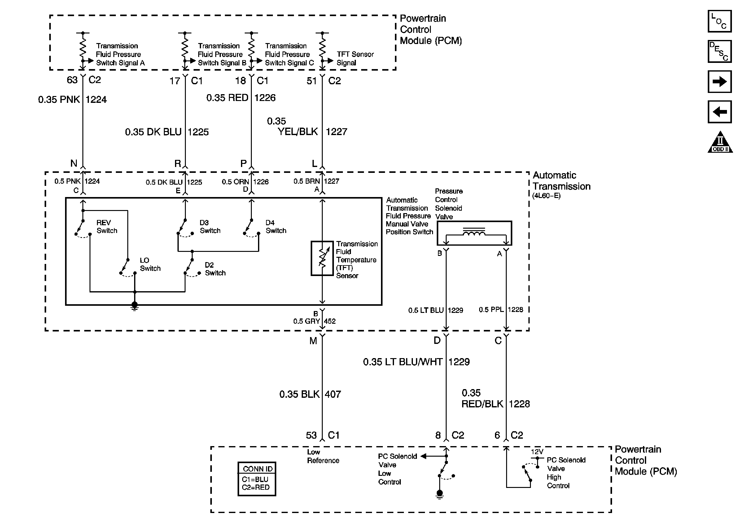
🢒 TFT Sensor and Pressure Control Solenoid
TFT Sensor and Pressure Control Solenoid
TFT Sensor and Pressure Control Solenoid
Engine Controls Component Views
Powertrain Control Module Description
Park Neutral Position Switch
Knock Sensor (KS) and Shift Solenoids
OBD II Symbol Description Notice