GM Service Manual Online
For 1990-2009 cars only
Makes
🢒
Chevrolet
🢒
2001
🢒
Astro - 2WD
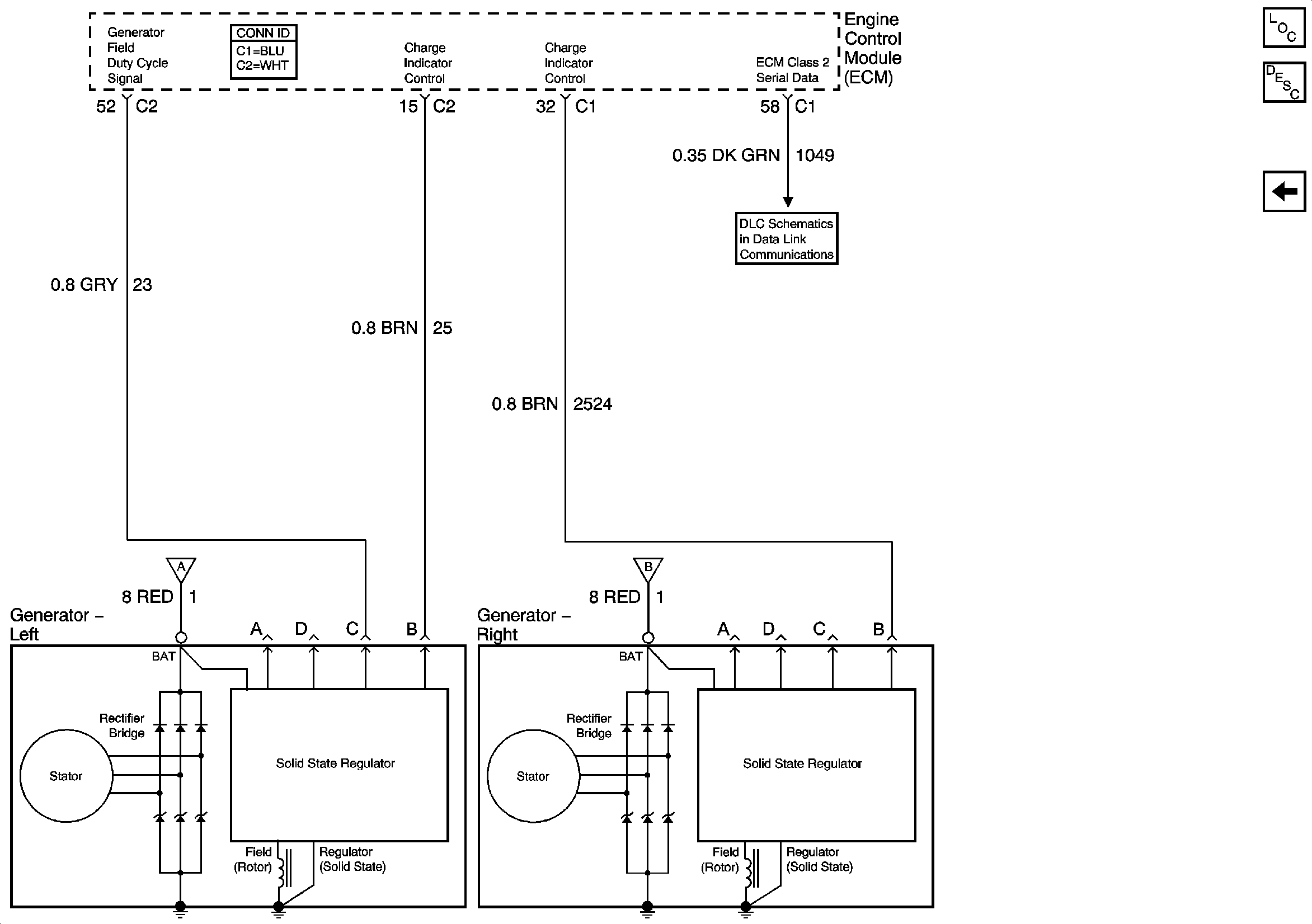
🢒 Charging - Diesel Dual Generator
Charging - Diesel Dual Generator
Charging - Diesel Dual Generator
Master Electrical Component List
Charging System Description and Operation
Starting - Diesel Dual Generator
IGNITION, RUN, and START Bus Bar
SP205
IGN 1, AIR BAG, and SEO IGN Fuses
Power and Ground
G105 - Diesel
G105 - Diesel
G105 - Diesel
Starting - Diesel Dual Generator
Starting - Diesel Dual Generator