GM Service Manual Online
For 1990-2009 cars only
Makes
🢒
Chevrolet
🢒
2001
🢒
Astro - 2WD
🢒 Transmission Controls - A/T
Transmission Controls - A/T
Transmission Controls - A/T
Master Electrical Component List
Engine Control Module Description
Controlled/Monitored Subsystem References
OBD II Symbol Description Notice
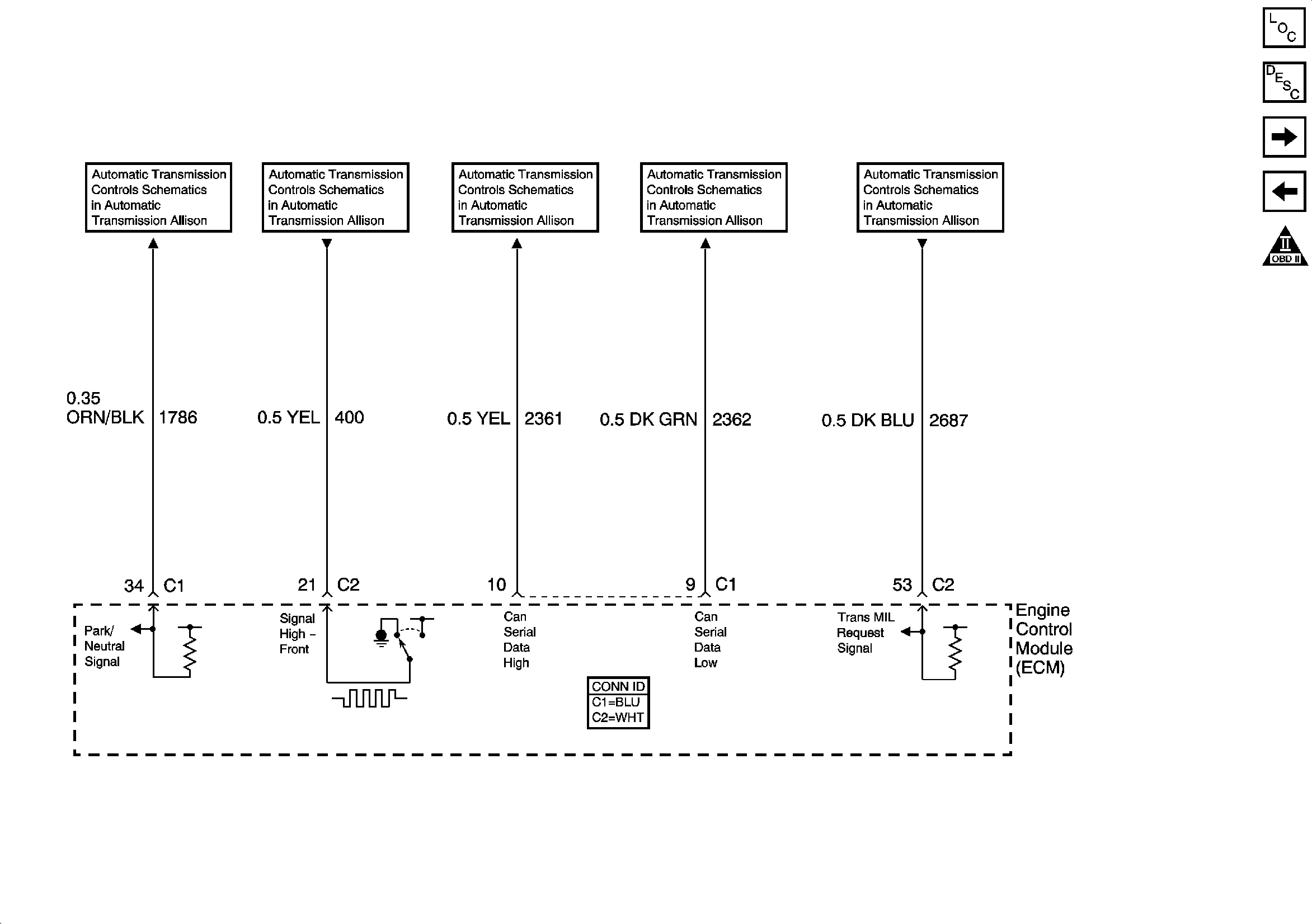
Park/Neutral Position (PNP) Switch and TCM
Power, Ground, and Stop Lamp Switch TCC Signal Circuit
Park/Neutral Position (PNP) Switch and TCM
Park/Neutral Position (PNP) Switch and TCM