GM Service Manual Online
For 1990-2009 cars only
Makes
🢒
Chevrolet
🢒
2002
🢒
Astro - 2WD
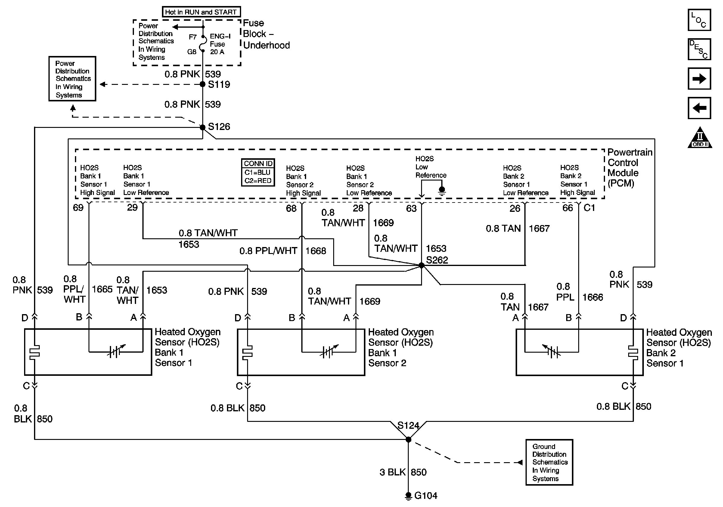
🢒 Oxygen Sensors
Oxygen Sensors
Oxygen Sensors
Master Electrical Component List
Powertrain Control Module Description
Ignition Controls
Engine Data Sensor
OBD II Symbol Description Notice
IGN - E and Eng - I Fuse
IGN RUN and START Bus Bar
G104