GM Service Manual Online
For 1990-2009 cars only
Makes
🢒
Chevrolet
🢒
2002
🢒
Astro - 2WD
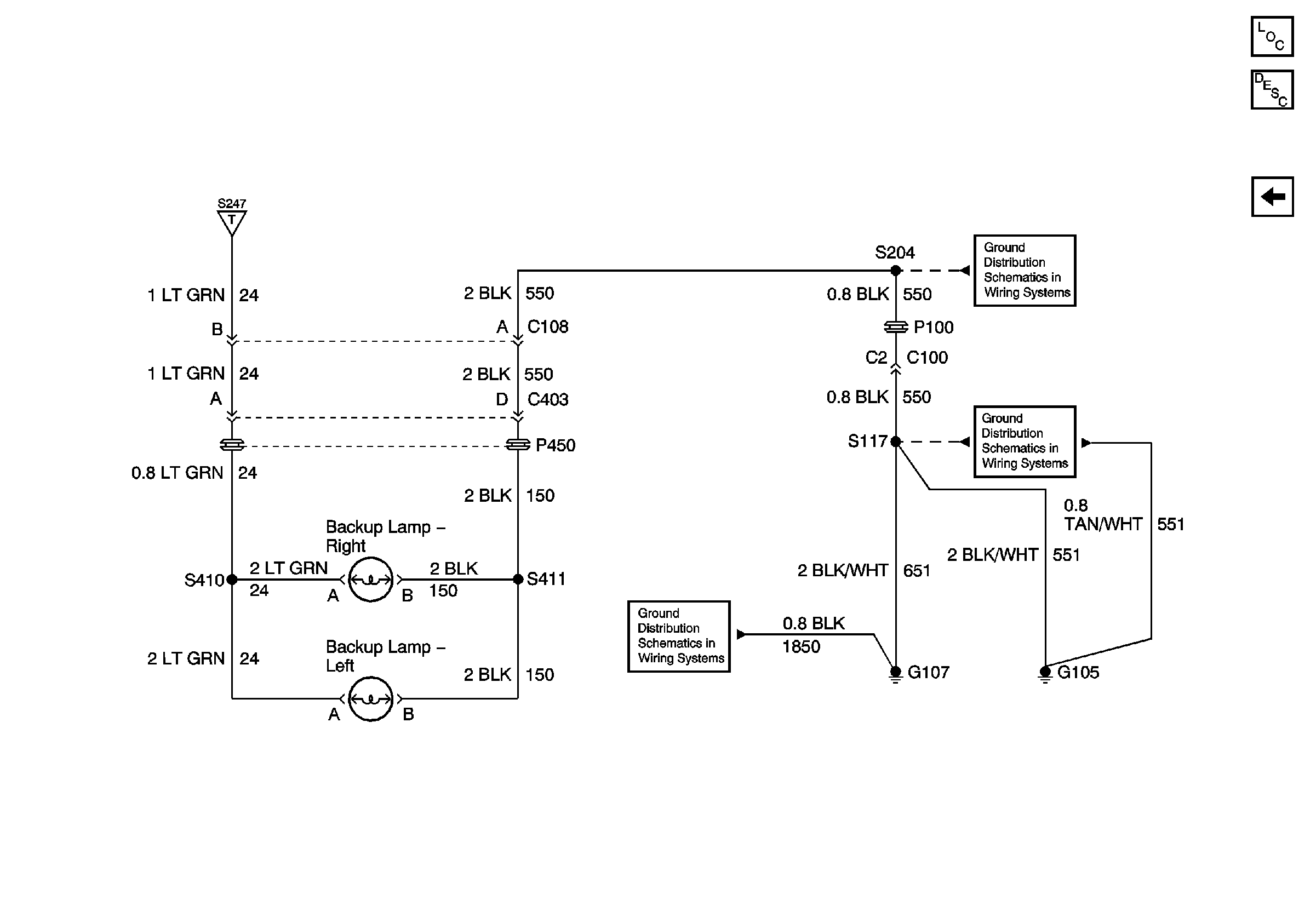
🢒 Backup Lamps (WX7)
Backup Lamps (WX7)
Backup Lamps
Master Electrical Component List
Exterior Lighting Systems Description and Operation
Park Lamp Relay (VE1)
Trailer Wiring Harness Connections (VE1)
G105, and G107
G105, and G107
G105, and G107