GM Service Manual Online
For 1990-2009 cars only
Makes
🢒
Chevrolet
🢒
2005
🢒
Astro - 2WD
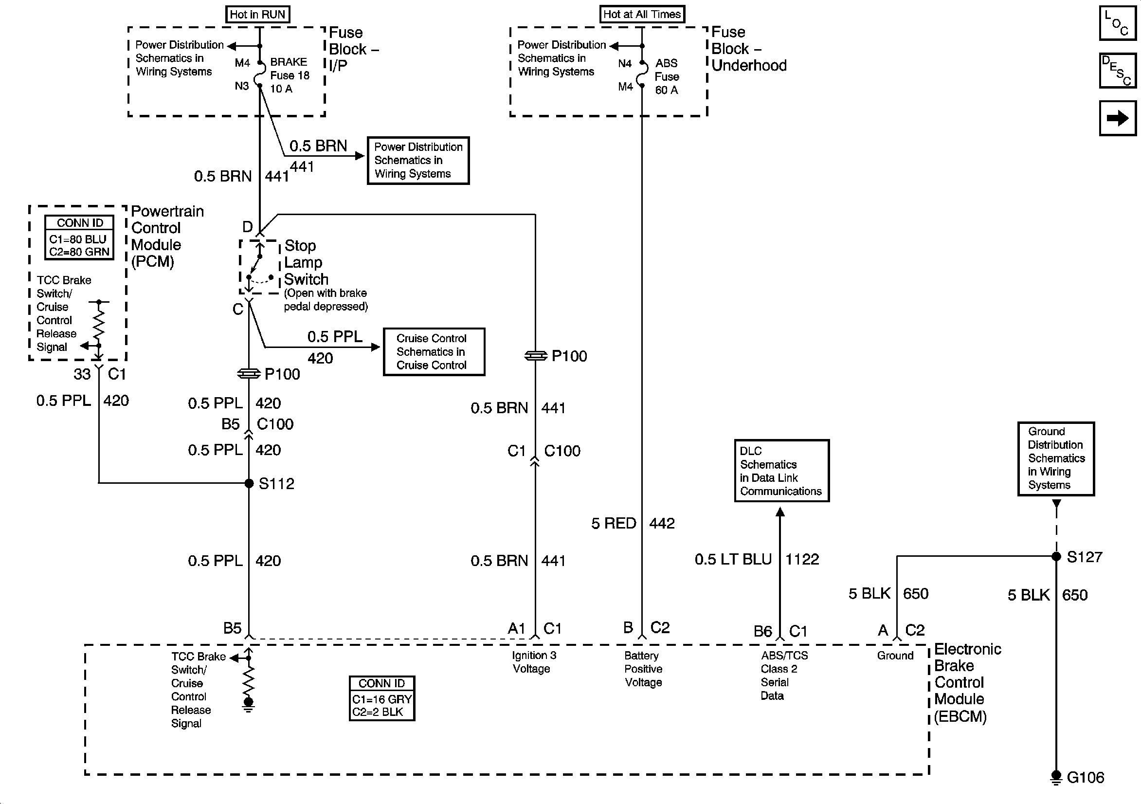
🢒 EBCM Power, Ground, and DLC
EBCM Power, Ground, and DLC
EBCM Power, Ground, and DLC
Master Electrical Component List
ABS Description and Operation
EBCM Controls
BRAKE, CRUISE, and HTR-A/C Fuses
B+ Bus
BRAKE, CRUISE, and HTR-A/C Fuses
Cruise Control Schematics
Data Link Connector (DLC) Schematics
G100, G106, and G302