GM Service Manual Online
For 1990-2009 cars only
Makes
🢒
Chevrolet
🢒
2005
🢒
Astro - 2WD
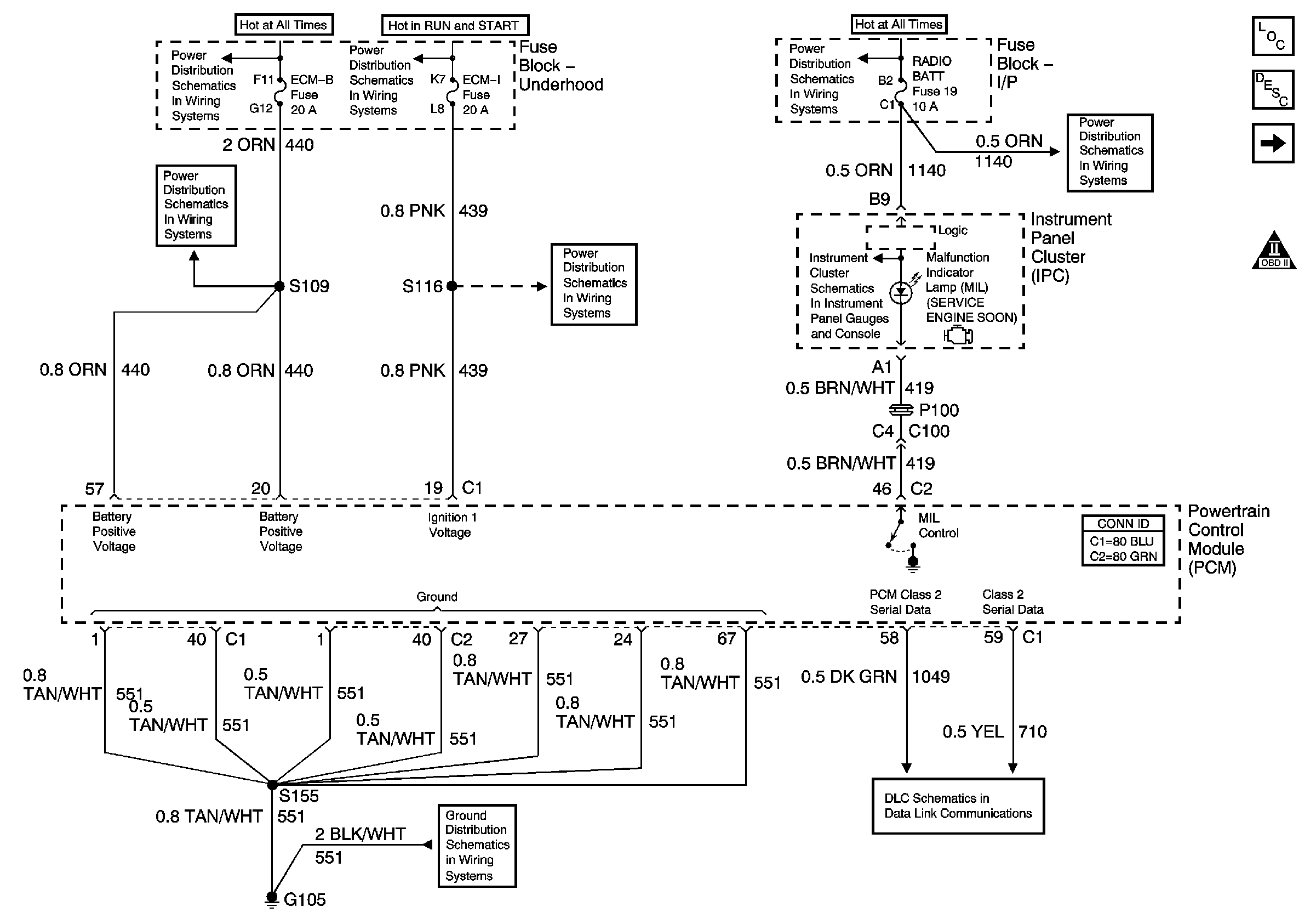
🢒 Module Power, Ground, Serial Data, and Ground
Module Power, Ground, Serial Data, and Ground
Module Power, Ground, Serial Data, and MIL
Master Electrical Component List
Powertrain Control Module Description
Engine Data Sensors
OBD II Symbol Description Notice
B+ Bus
Ignition Switch - START, RUN/START, and OFF/RUN/START Bus Bars
B+ Bus
CIG LTR, CRANK, and RADIO BATT Fuses
ABS, A/C COMP, ECM-B, HORN, HTD MIR/RR DEFOG, and RAP Fuses
ECM-I Fuse
Indicators
G105 and G107
Data Link Connector (DLC) Schematics