GM Service Manual Online
For 1990-2009 cars only
Makes
🢒
Chevrolet
🢒
1997
🢒
Astro - 4WD
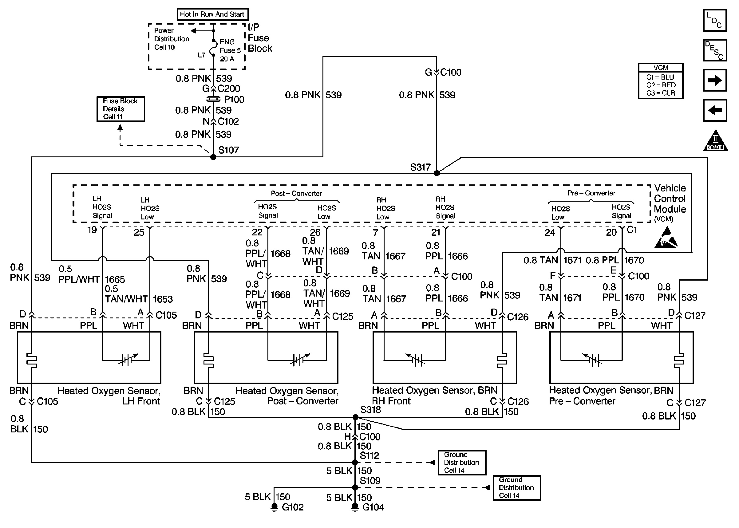
🢒 Oxygen Sensors
Oxygen Sensors
Oxygen Sensors
Engine Controls Components
Vehicle Control Module VCM
Manual Transmission Inputs And Outputs
Valve Controls
OBD II Symbol Description Notice
Handling Electrostatic Discharge Sensitive Parts Notice