GM Service Manual Online
For 1990-2009 cars only
Makes
🢒
Chevrolet
🢒
2000
🢒
Blazer - 2WD
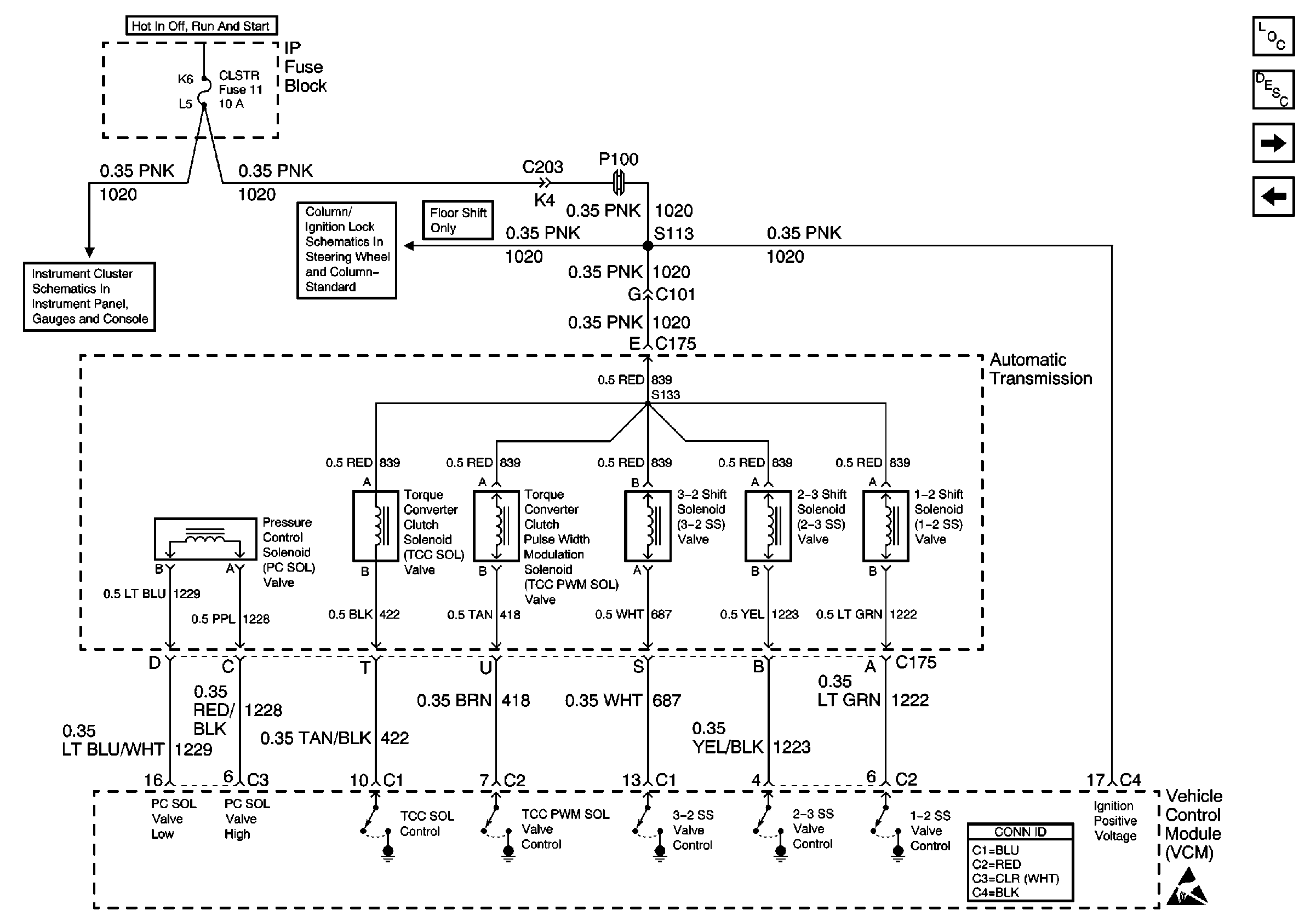
🢒 Valve Controls (4.3L)
Valve Controls (4.3L)
Valve Controls (4.3L)
Automatic Transmission Components
Electronic Component Description
Switch Inputs and PNP Switch (4.3L)
Brake Switch, VSS Inputs (2.2L)
Power
Column/Ignition Lock Schematics
VCM Connector End Views
Handling ESD Sensitive Parts Notice