GM Service Manual Online
For 1990-2009 cars only
Makes
🢒
Chevrolet
🢒
2001
🢒
Blazer - 2WD
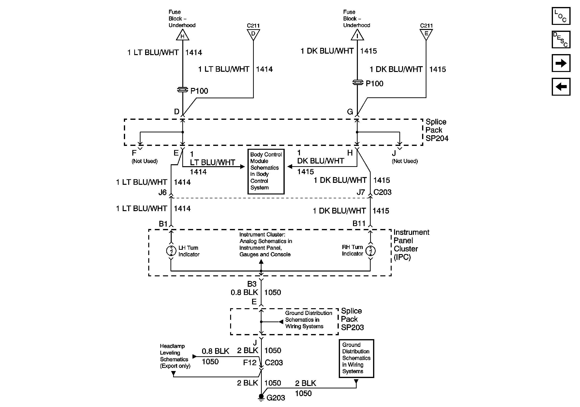
🢒 Instrument Cluster Turn Signal Indicators
Instrument Cluster Turn Signal Indicators
Instrument Cluster Turn Signal Indicators
Master Electrical Component List
Exterior Lighting Systems Description and Operation
Turn Fuses
Multifunction Switch (Turn Signal Switch) And Turn Signal/Hazard Flasher Module
Turn Signal Lamps, Front and Turn Signal Fuses, Rear
Multifunction Switch (Turn Signal Switch) And Turn Signal/Hazard Flasher Module
Turn Signal Lamps, Front and Turn Signal Fuses, Rear
Multifunction Switch (Turn Signal Switch) And Turn Signal/Hazard Flasher Module
Turn Signals
Indicators
G203 and G204 (Pickup)
Headlight Leveling Schematics (Export)
G203 and G204 (Pickup)