GM Service Manual Online
For 1990-2009 cars only
Makes
🢒
Chevrolet
🢒
2001
🢒
Blazer - 2WD
🢒 Input
Input
Input
Master Electrical Component List
Rear Hatch/Gate Description and Operation General
Output
Headlight Leveling Schematics (Export)
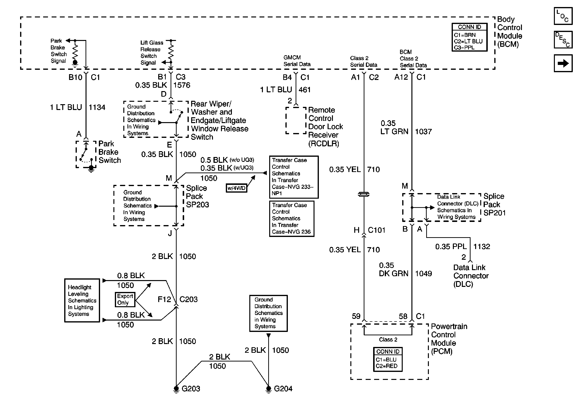
G203 and G204 (Utility w/ Manual A/C)
G203 and G204 (Utility w/ Manual A/C)
Transfer Case Shift Control Switch
ILLUM Fuse, Shift Control Switch and Body Control Module (BCM)
G203 and G204 (Pickup)
SP201 (4.3L)