GM Service Manual Online
For 1990-2009 cars only
Makes
🢒
Chevrolet
🢒
2001
🢒
Blazer - 2WD
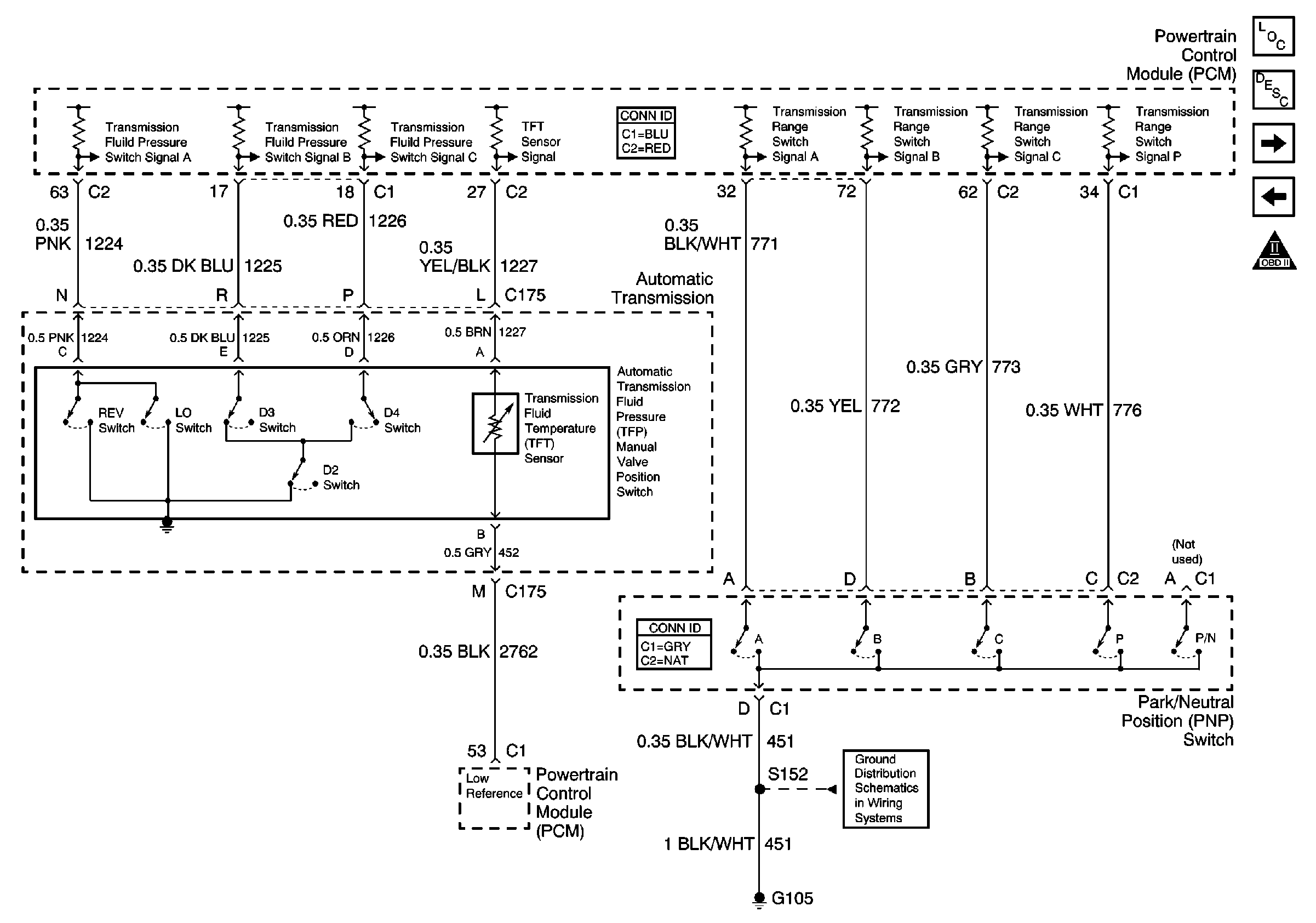
🢒 Switch Inputs and PNP Switch (4.3L)
Switch Inputs and PNP Switch (4.3L)
Switch Inputs and PNP Switch (4.3L)
Master Electrical Component List
Transmission Component and System Description
VSS Inputs, 4WD Low Indicator Signal (4.3L)
Valve Controls (4.3L)
OBD II Symbol Description Notice
G103 and G105 (4.3 L)