GM Service Manual Online
For 1990-2009 cars only
Makes
🢒
Chevrolet
🢒
2001
🢒
Blazer - 2WD
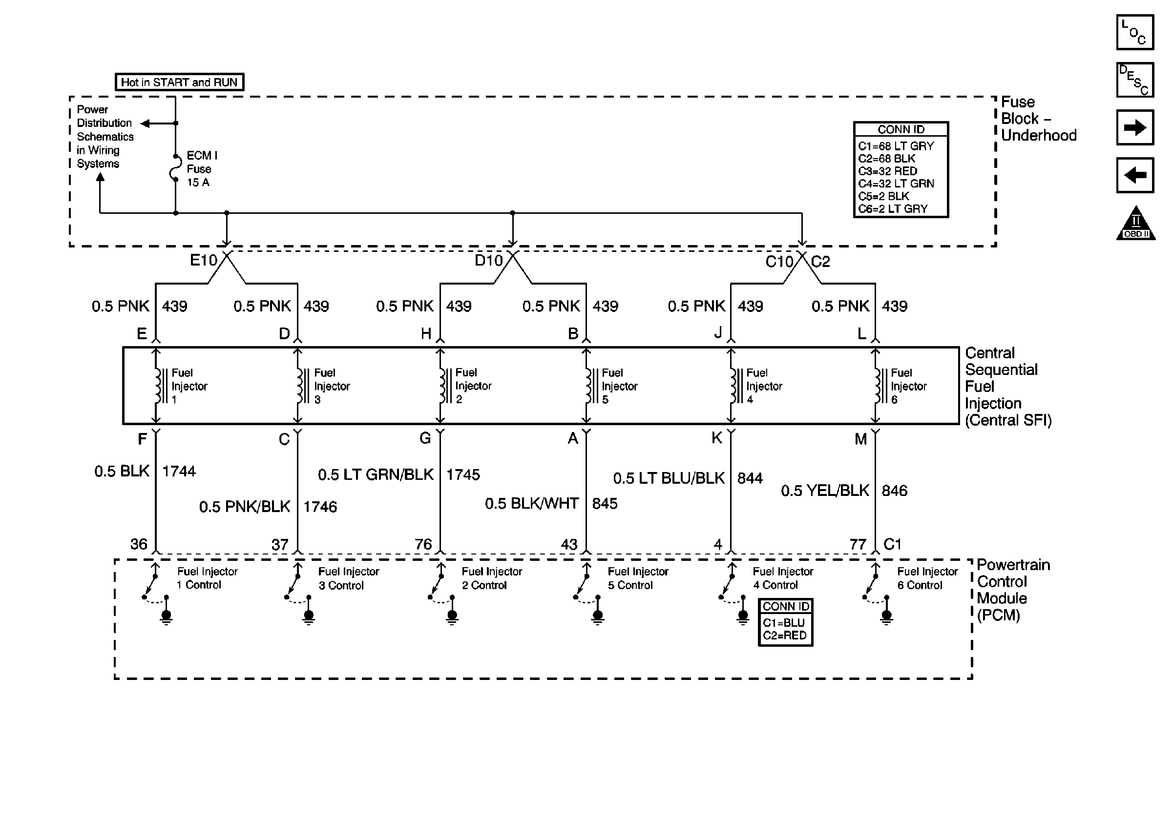
🢒 Fuel Injection Controls
Fuel Injection Controls
Fuel Injection Controls
Master Electrical Component List
Powertrain Control Module Description
Fuel Level Sensor
Fuel Pump Controls
OBD II Symbol Description Notice
ECM I Fuse