GM Service Manual Online
For 1990-2009 cars only

Circuit Description

The heated oxygen sensor (HO2S) is a sensor designed to create a voltage relative to the oxygen content in the engine exhaust stream. The control module supplies the HO2S with signal high and low circuits. Ignition voltage and ground are supplied to the HO2S heater by independent circuits. The oxygen content of the exhaust indicates when the engine is operating lean or rich. When the HO2S detects that the engine is operating rich, the signal voltage is high, and decreases the signal voltage as the engine runs leaner. This oscillation above and below the bias voltage, sometimes referred to as activity or switching, can be monitored with the HO2S signal voltage.

The HO2S contains a heater that is necessary in order to quickly warm the sensor to operating temperature. The heater also maintains the operating temperature during extended idle conditions. The HO2S needs to be at a high temperature in order to produce a voltage. When the HO2S reaches operating temperature, the control module monitors the HO2S bias, or reference, voltage. The control module also monitors the HO2S signal voltage for Closed Loop fuel control. During normal Closed Loop fuel control operation, the control module will add fuel, or enrich the mixture, with the HO2S detects a lean exhaust content. The control module will subtract fuel, or "lean out" the mixture, with the HO2S detects a rich exhaust condition.

This diagnostic trouble code (DTC) determines if the HO2S is functioning properly. The DTC checks for an adequate number of HO2S voltage transitions above and below the bias range of 300-600 mV. This DTC sets when the powertrain control module (PCM) fails to detect a minimum number of voltage transitions above and below the bias range during the test period.

Conditions for Running the DTC

    • DTCs P0101, P0102, P0103, P0106, P0107, P0108, P0112, P0113, P0117, P0118, P0121, P0122, P0123, P0131, P0132, P0134, P0135, P0151, P0152, P0154, P0155, P0300, P0351, P0401, P0404, P0405, P0440, P0442, P0446, P0452, P0453, P1258, P1404, or P1441 are not set.
    • The engine coolant temperature (ECT) is more than 57°C (135°F).
    • The engine run time is more than 160 seconds.
    • The mass air flow (MAF) sensor is between 15-55 g/s.
    • The engine speed is between 1,100-3,000 RPM.
    • The throttle position (TP) is more than 5 percent.
    • The loop status is Closed.
    • The ignition 1 signal voltage is between 9-18 volts.
    • The fuel tank level remaining is more than 10 percent.
    • Intrusive tests are not in progress
    • The scan tool output controls are not active.
    • The above conditions are met for 100 seconds.

Conditions for Setting the DTC

The HO2S lean-to-rich and rich-to-lean switches are less than a calibrated value.

Action Taken When the DTC Sets

    • The control module illuminates the malfunction indicator lamp (MIL) on the second consecutive ignition cycle that the diagnostic runs and fails.
    • The control module records the operating conditions at the time the diagnostic fails. The first time the diagnostic fails, the control module stores this information in the Failure Records. If the diagnostic reports a failure on the second consecutive ignition cycle, the control module records the operating conditions at the time of the failure. The control module writes the operating conditions to the Freeze Frame and updates the Failure Records.

Conditions for Clearing the MIL/DTC

    • The control module turns OFF the malfunction indicator lamp (MIL) after 3 consecutive ignition cycles that the diagnostic runs and does not fail.
    • A current DTC, Last Test Failed, clears when the diagnostic runs and passes.
    • A history DTC clears after 40 consecutive warm-up cycles, if no failures are reported by this or any other emission related diagnostic.
    • Clear the MIL and the DTC with a scan tool.

Diagnostic Aids

Important: Remove any debris from the PCM connector surfaces before servicing the PCM. Inspect the PCM connector gaskets when diagnosing or replacing the PCM. Ensure that the gaskets are installed correctly. The gaskets prevent water intrusion into the PCM.

    • Inspect the HO2S signal circuit for being shorted to a PCM ground. The HO2S signal circuit shorted to a PCM ground sets a switching DTC.
    • A malfunction in the HO2S heater circuits will cause a DTC P1133 or P1153 to set. Check the HO2S heater circuits for intermittent opens or for loose connections.
    • An oxygen supply inside the HO2S is necessary for proper operation. This supply of oxygen is provided through the HO2S wires. Inspect all HO2S wires and connections for breaks or for contamination. Refer to Heated Oxygen Sensor Wiring Repairs in Wiring Systems.
    • Using the Freeze Frame/Failure Records may help to locate an intermittent condition. If you cannot duplicate the DTC , use the information in the Freeze Frame/Failure Records to help to determine how many miles have occurred since the DTC set. Use the Fail Counter and the Pass Counter in order to determine how many ignition cycles have occurred since the diagnostic reported a pass or a fail. In order to isolate when the DTC failed, operate vehicle within the same Freeze Frame conditions that you observed. These conditions include:
       - The RPM
       - The vehicle load
       - The vehicle speed
       - The temperature
    • For an intermittent condition , refer to Symptoms - Engine Controls .

Test Description

The numbers below refer to the step numbers on the diagnostic table.

  1. This step determines if the condition is present. This test may take 5 minutes for the diagnostic to run. For any test that requires probing the PCM or a probing the component harness connector, use the connector test adapter kit J 35616-A . Using this kit prevents damage to the harness connector terminals.

  2. When DTCs P1133 and P1153 are set at the same time, fuel contamination is likely.

  3. An exhaust leak 15.24-30.48 cm (6-12 inches) away from the HO2S can cause a DTC to set.

  4. When DTCs P1133 and P1153 are set at the same time, fuel contamination is likely.

  5. This step tests the integrity of the HO2S low signal circuit to the PCM.

  6. This step tests the integrity of the HO2S high signal circuit to the PCM.

  7. Certain room temperature vulcanizing (RTV) silicon gasket materials release vapors that can contaminate the HO2S. Silicon in the fuel can also cause silicon contamination. If the sensors appear silicon contaminated, and if all of the silicon sealant is a non-silicon base, advise the customer to try a different fuel company.

Step

Action

Values

Yes

No

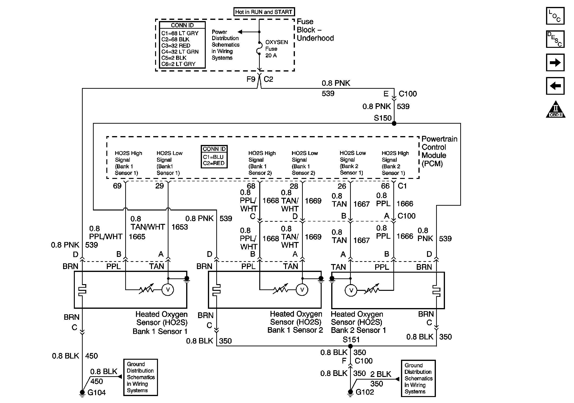
Schematic Reference:

Heated Oxygen Sensors


Object Number: 669498  Size: FS
Master Electrical Component List
Powertrain Control Module Description
MAF Sensor and IAC Valve
Engine Sensors (Utility)
OBD II Symbol Description Notice
Ign RUN and START Bus Bar
G104 and G117
G102 (Except Export)

1

Did you perform the Diagnostic System Check-Engine Controls?

--

Go to Step 2

Go to Diagnostic System Check - Engine Controls

2

Important: If any DTCs are set, except P1133 or P1153, refer to those DTCs before proceeding with this diagnostic table.

  1. Idle the engine at the normal operating temperature.
  2. Operate the vehicle within the parameters specified in the Conditions for Running the DTC in the supporting text.
  3. Monitor the DTC Information using the scan tool.

Did DTC P1133 or P1153 fail this ignition?

--

Go to Step 3

Go to Diagnostic Aids

3

Did both DTC P1133 and P1153 fail this ignition?

--

Go to Step 8

Go to Step 4

4

  1. Inspect for an exhaust system leak. Refer to Exhaust Leakage in Engine Exhaust. After you inspect the exhaust system, return to this diagnostic.
  2. If you find an exhaust leak, repair the exhaust leak as necessary.

Did you find and correct the condition?

--

Go to Step 14

Go to Step 5

5

Inspect the following items:

    • Ensure that the HO2S is securely installed.
    • Inspect for corrosion on the terminals.
    • Inspect the terminal tension at the HO2S and at the PCM.
    • Inspect for damaged wiring.

Did you find and correct the condition?

--

Go to Step 14

Go to Step 6

6

  1. Disconnect the HO2S.
  2. Jumper the HO2S low signal circuit, PCM side, to a known good ground.
  3. Monitor the HO2S voltage on the Engine 1 Data List using the scan tool.

Does the scan tool indicate a voltage that is within the specified range?

350-550 mV

Go to Step 7

Go to Step 10

7

  1. Jumper the HO2S high and low signal circuits on the PCM side to a battery ground.
  2. Monitor the HO2S voltage using the scan tool.

Does the scan tool indicate a voltage that is less than the specified value?

200 mV

Go to Step 13

Go to Step 9

8

Important: Determine and correct the cause of the contamination before replacing a sensor.

  1. Inspect for the following conditions:
  2.    • Fuel contamination
       • Use of improper RTV sealant
       • Engine oil consumption
       • Coolant consumption
  3. Replace the affected heated oxygen sensor (H20S). Refer to Heated Oxygen Sensor Replacement - Bank 1 Sensor 1 or Heated Oxygen Sensor Replacement - Bank 2 Sensor 1 .

Did you complete the action?

--

Go to Step 14

--

9

  1. Remove the jumper wire from the HO2S low signal circuit.
  2. Measure the voltage from the HO2S low signal circuit to a battery ground using the DMM . Refer to Measuring Voltage in Wiring Systems.

Does the DMM indicate a voltage near the specified value?

5 V

Go to Step 12

Go to Step 11

10

Repair the high signal circuit for a short to ground or a short to voltage. Refer to Wiring Repairs in Wiring Systems.

Did you complete the action?

--

Go to Step 14

--

11

Repair the open HO2S low signal circuit, or repair the faulty PCM connections. Refer to Wiring Repairs in Wiring Systems.

Did you complete the action?

--

Go to Step 14

--

12

Repair the HO2S high signal circuit for an open, or repair the faulty PCM connections. Refer to Wiring Repairs in Wiring Systems.

Did you complete the action?

--

Go to Step 14

--

13

Replace the appropriate HO2S. Refer to Heated Oxygen Sensor Replacement - Bank 1 Sensor 1 or Heated Oxygen Sensor Replacement - Bank 2 Sensor 1 .

Did you complete the action?

--

Go to Step 14

--

14

  1. Use the scan tool in order to clear the DTCs.
  2. Turn OFF the ignition for 30 seconds.
  3. Operate the vehicle within the Conditions for Running the DTC as specified in the supporting text.

Does the DTC run and pass?

--

Go to Step 15

Go to Step 2

15

With a scan tool observe the Stored information, Capture info.

Does the scan tool display any DTCs that you have not diagnosed?

--

Go to Diagnostic Trouble Code (DTC) List

System OK