GM Service Manual Online
For 1990-2009 cars only
Makes
🢒
Chevrolet
🢒
2005
🢒
Blazer - 2WD
🢒 ILLUM Fuse 12
ILLUM Fuse 12
ILLUM Fuse 12
Master Electrical Component List
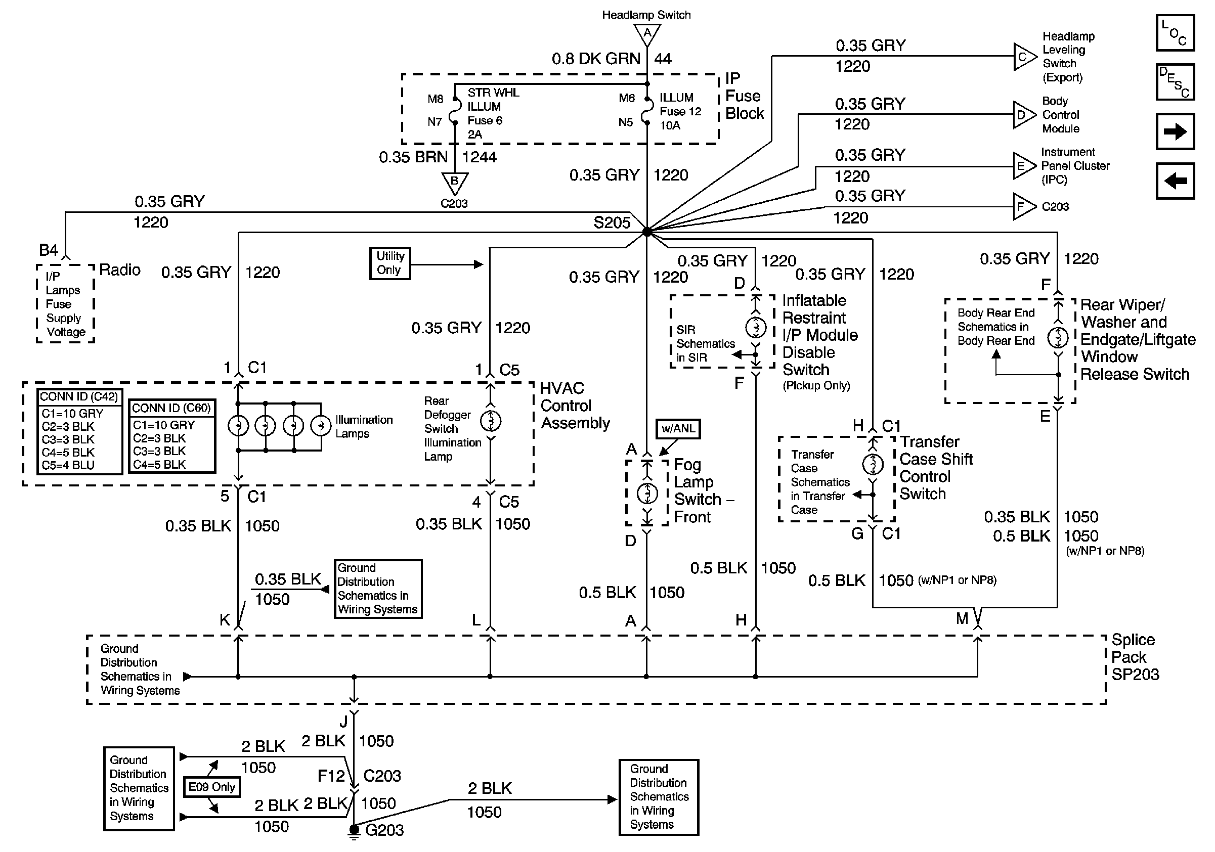
Interior Lighting Systems Description and Operation
Steering Wheel Controls
Headlamp Switch
Headlamp Switch
Steering Wheel Controls
G203 and G204 - Pickup
G203 and G204 - Pickup
G203 and G204 - Utility w/Manual A/C
G203 and G204 - Pickup
Input
Instrument Panel Cluster, BCM and Automatic Transmission Indicators
Steering Wheel Controls
LED Dimming Signal
Instrument Panel Cluster, BCM and Automatic Transmission Indicators
Instrument Panel Cluster, BCM and Automatic Transmission Indicators