GM Service Manual Online
For 1990-2009 cars only
Makes
🢒
Chevrolet
🢒
2005
🢒
Blazer - 2WD
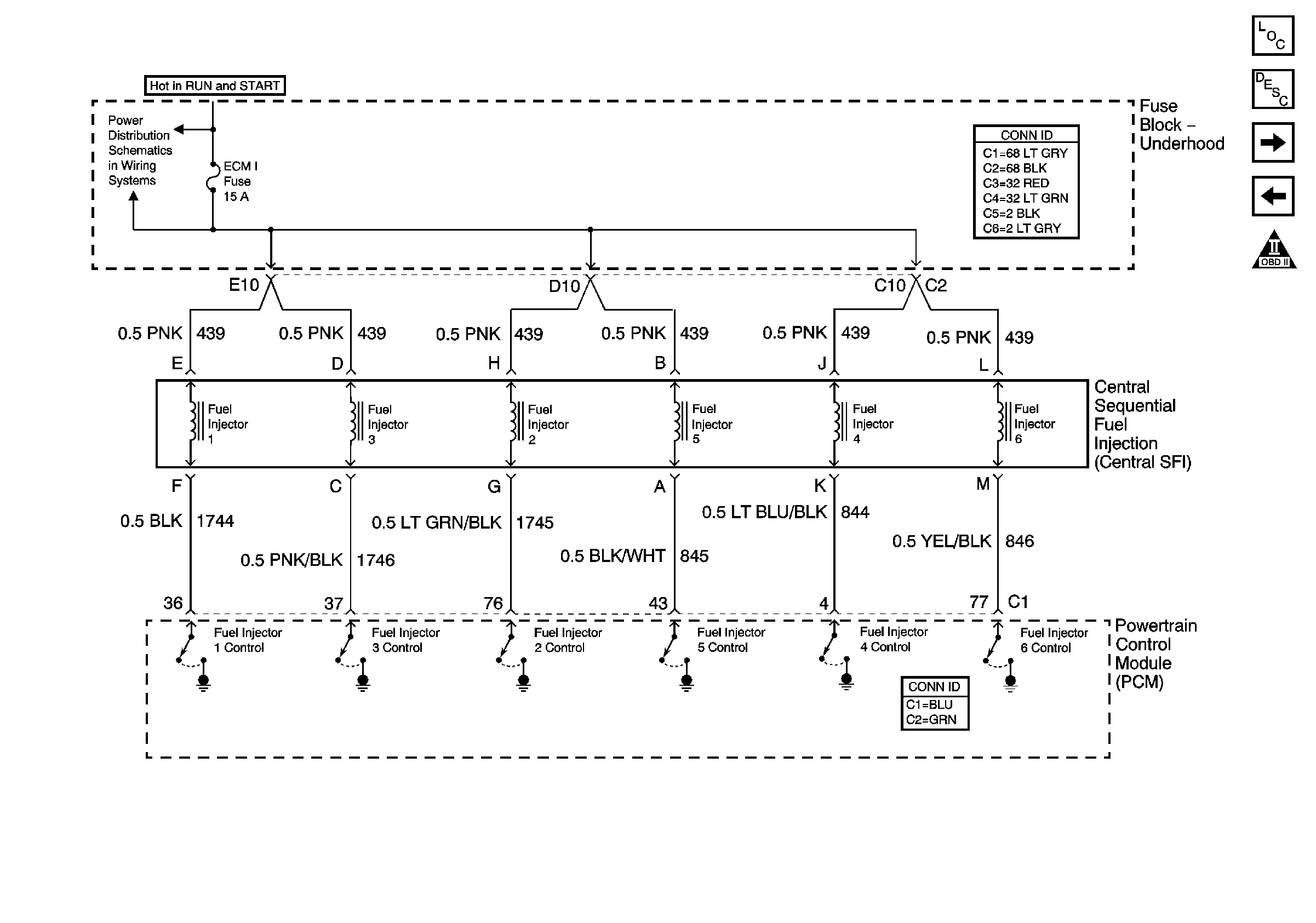
🢒 Fuel Controls - Fuel Injector Controls
Fuel Controls - Fuel Injector Controls
Fuel Controls - Fuel Injector Controls
Master Electrical Component List
Fuel System Description
Fuel Controls - EVAP Controls
Fuel Controls - Fuel Pump Controls
OBD II Symbol Description Notice
ECM I Fuse