GM Service Manual Online
For 1990-2009 cars only
Makes
🢒
Chevrolet
🢒
2000
🢒
Blazer - 4WD - RHD
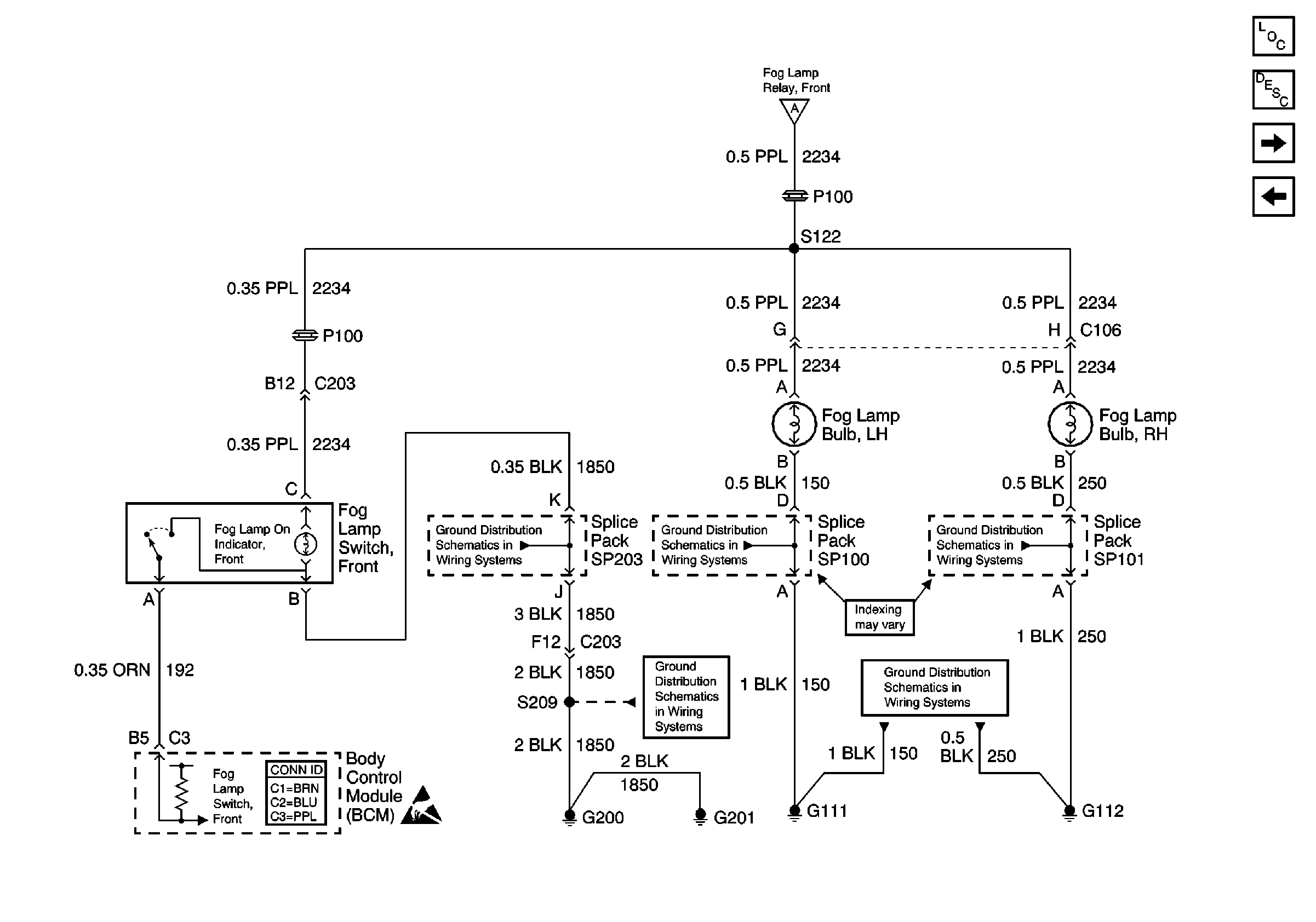
🢒 Front Fog Lamps, LH/RH, and Fog Lamp Switch, Front
Front Fog Lamps, LH/RH, and Fog Lamp Switch, Front
Front Fog Lamps, LH/RH, and Fog Lamp Switch, Front
Lighting Systems Component Views
Fog Lights Circuit Description
Fog Lamp Relay, Rear
Power, Headlamp Switch, and Multifunction Switch
Fog Lamp Relay, Front
Body Control System Connector End Views
Handling ESD Sensitive Parts Notice
G200 and G201
G111 and G112
G200 and G201
G111 and G112
G111 and G112