GM Service Manual Online
For 1990-2009 cars only
Makes
🢒
Chevrolet
🢒
2000
🢒
Blazer - 4WD - RHD
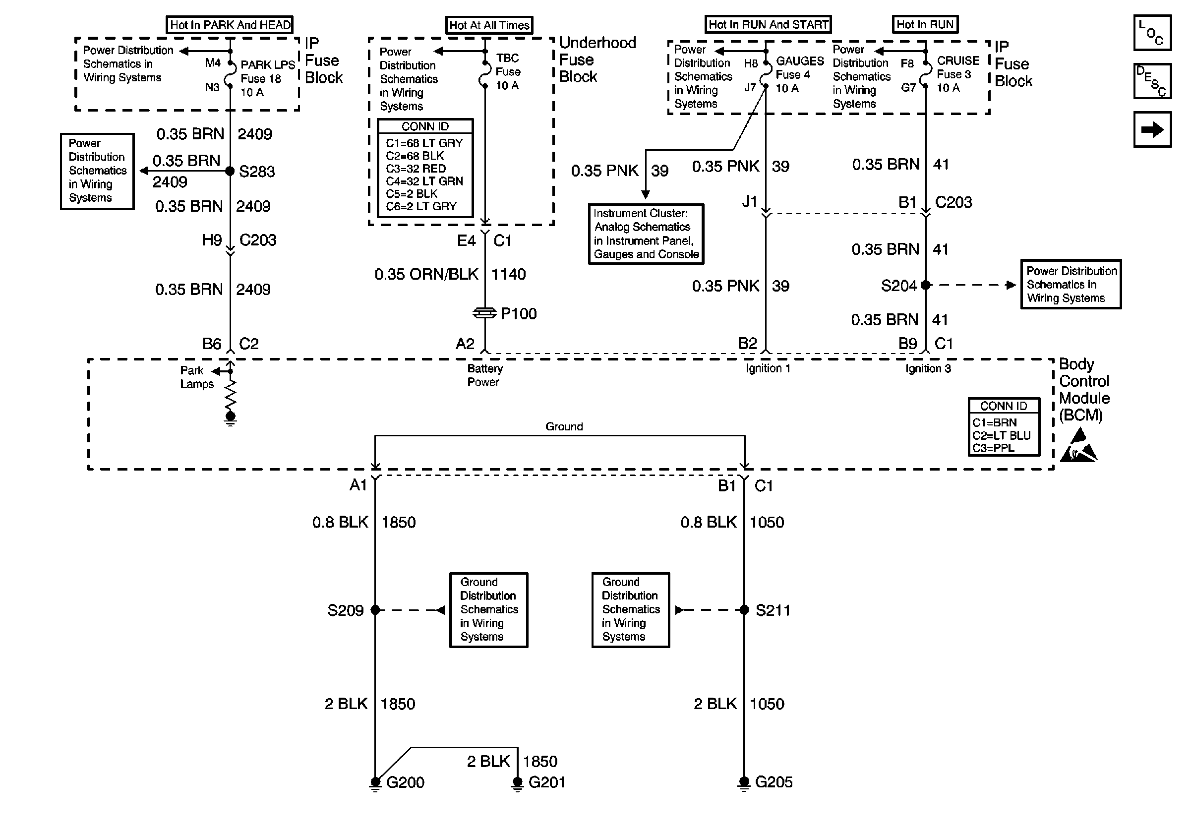
🢒 Power and Ground
Power and Ground
Power and Ground
Body Control Module Components
Body Control System Circuit Description
VCM and Data Link Connector (DLC)
ILLUM and PARK LP Fuses
B+ Bus Bar
Ign START, RUN and ACC Bus Bar
Ign RUN and START Bus Bar
ILLUM and PARK LP Fuses
Power and Grounding Connector End Views
Power
RDO IGN, FRT WPR, RR WIPER, ABS, CRUISE, and W/W PUMP Fuses
Body Control System Connector End Views
Handling ESD Sensitive Parts Notice
G200 and G201
G203 and G205