GM Service Manual Online
For 1990-2009 cars only
Makes
🢒
Chevrolet
🢒
2000
🢒
Blazer - 4WD - RHD
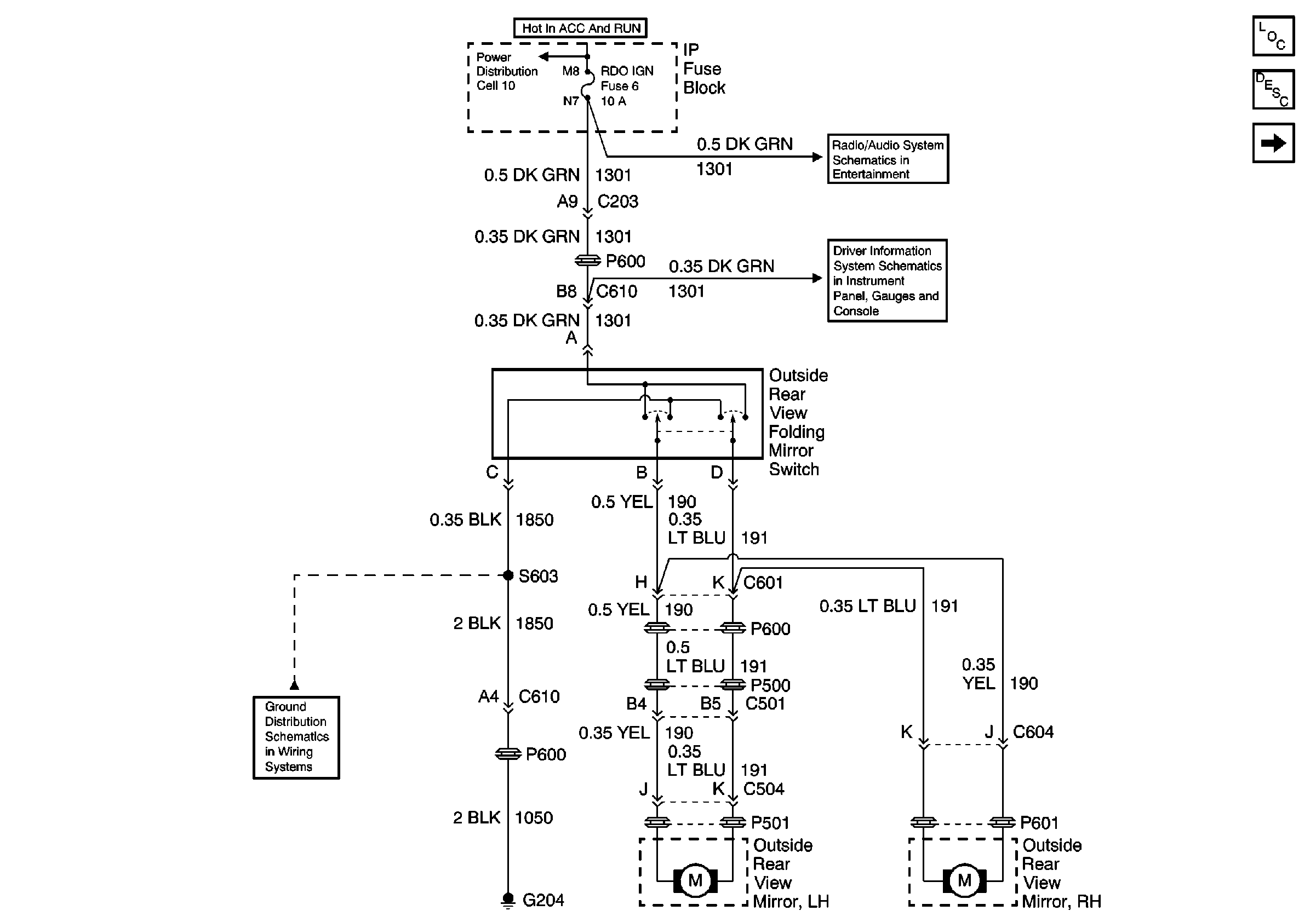
🢒 Power and Ground
Power and Ground
Power and Ground
Power Door Systems Components
Outside Mirrors Circuit Description
Heated Mirrors
Ign START, RUN and ACC Bus Bar
Radio/Audio System Schematics
Driver Information System
G202 and G204