GM Service Manual Online
For 1990-2009 cars only
Makes
🢒
Chevrolet
🢒
2000
🢒
Blazer - 4WD - RHD
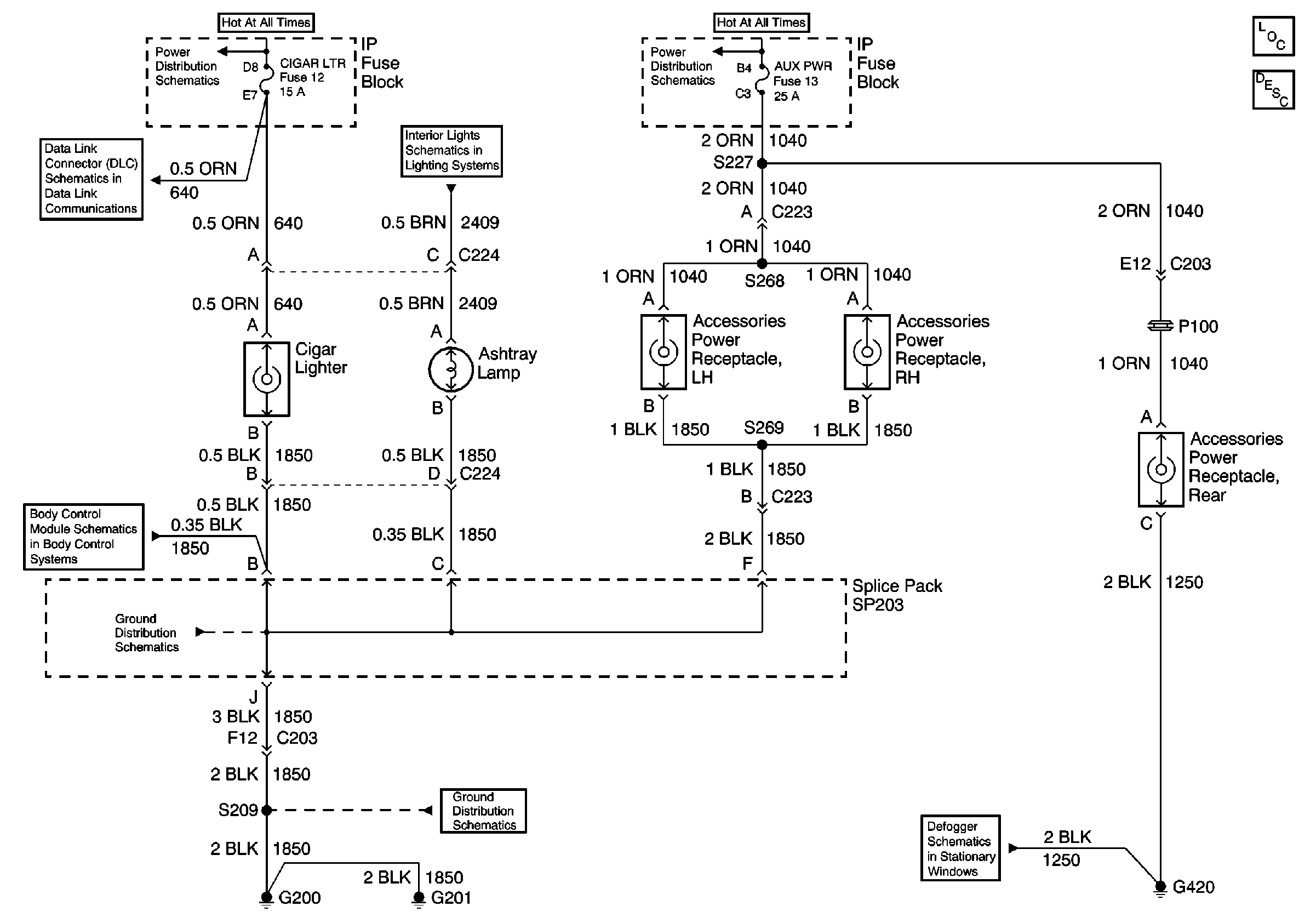
🢒 Cigar Lighter/Auxiliary Outlets Schematics
Cigar Lighter/Auxiliary Outlets Schematics
Power and Grounding Components
Cigar Lighter/Auxiliary Outlet Circuit Description
STUD 2, INT BAT, CIGAR LTR, CTSY LP and PWR LKS Fuses
RDO BAT and AUX PWR Fuses
Power and Ground
Power and Ground
Rear Fog Lights
SP203
G200 and G201
Defogger Schematic