GM Service Manual Online
For 1990-2009 cars only
Makes
🢒
Chevrolet
🢒
2001
🢒
Blazer - 4WD - RHD
🢒 Interior Lamps
Interior Lamps
Interior Lamps
Master Electrical Component List
Body Control System Description and Operation
Exterior Lights
Horns
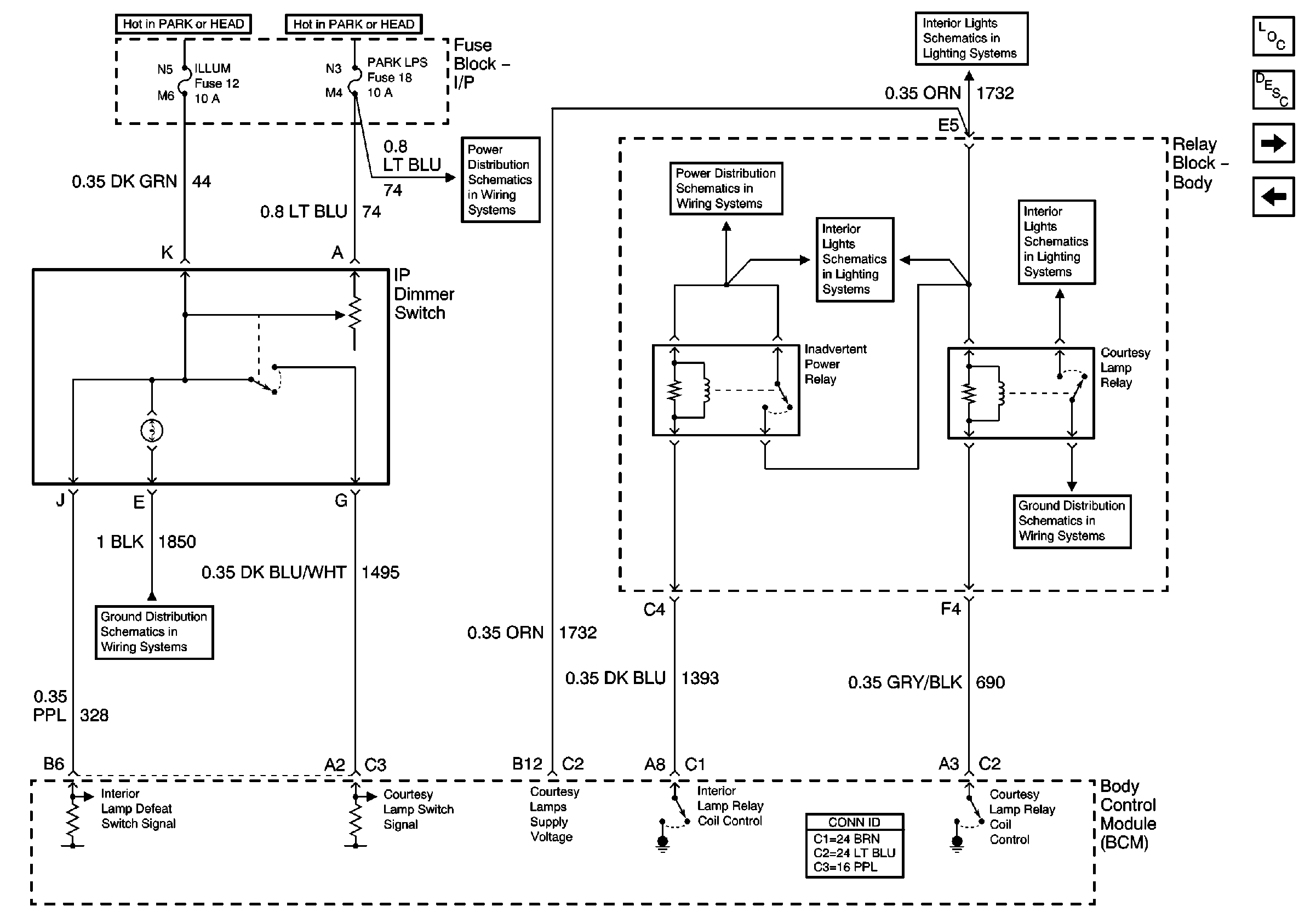
ILLUM and PARK LP Fuses
SP203
CTSY LP Fuse and Body Control Module (BCM)
STUD 2, INT BAT, CIGAR LTR, CTSY LP and PWR LKS Fuses
CTSY LP Fuse and Body Control Module (BCM)
CTSY LP Fuse and Body Control Module (BCM)
G203 and G205