GM Service Manual Online
For 1990-2009 cars only
Makes
🢒
Chevrolet
🢒
2001
🢒
Blazer - 4WD - RHD
🢒 Front Fog Lights
Front Fog Lights
Front Fog Lights
Master Electrical Component List
Body Control System Description and Operation
Rear Fog Lights
Power Locks
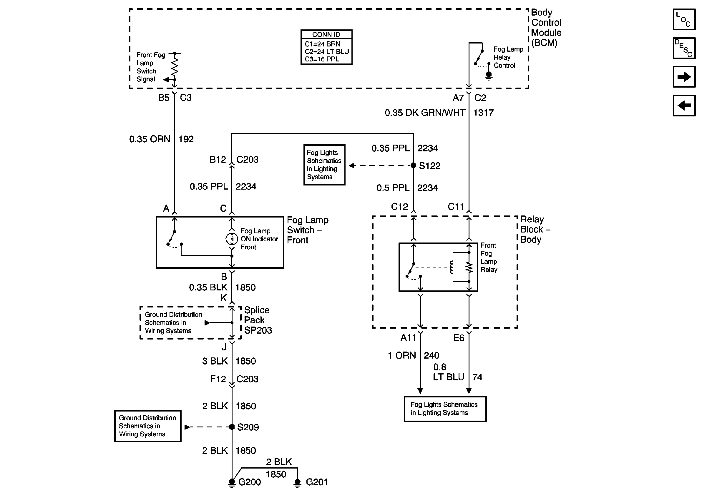
Fog Lamps - LF/RF, and Fog Lamp Switch - Front
SP203
G200 and G201
Fog Lamp Relay, Front