GM Service Manual Online
For 1990-2009 cars only
Makes
🢒
Chevrolet
🢒
2002
🢒
Blazer - 4WD - RHD
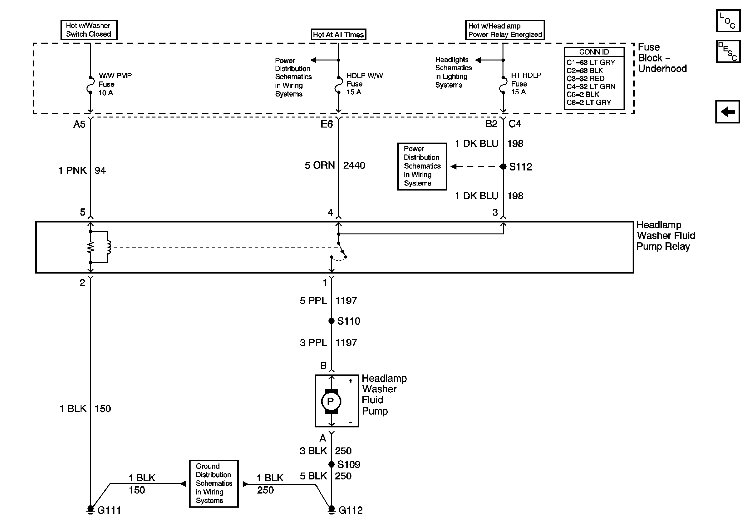
🢒 Headlamp Washers
Headlamp Washers
Headlamp Washers
Master Electrical Component List
Headlamp Washer System Description and Operation
Rear Wipers
G111 and G112
B+ Bus Bar
MIR/LKS, LH HDLP and RH HDLP Fuses
Power, Flash-to-Pass, and BCM