GM Service Manual Online
For 1990-2009 cars only
Makes
🢒
Chevrolet
🢒
2001
🢒
Chevy C Cab/Chassis HD (GMT 400)
🢒 Fuel Injector Controls
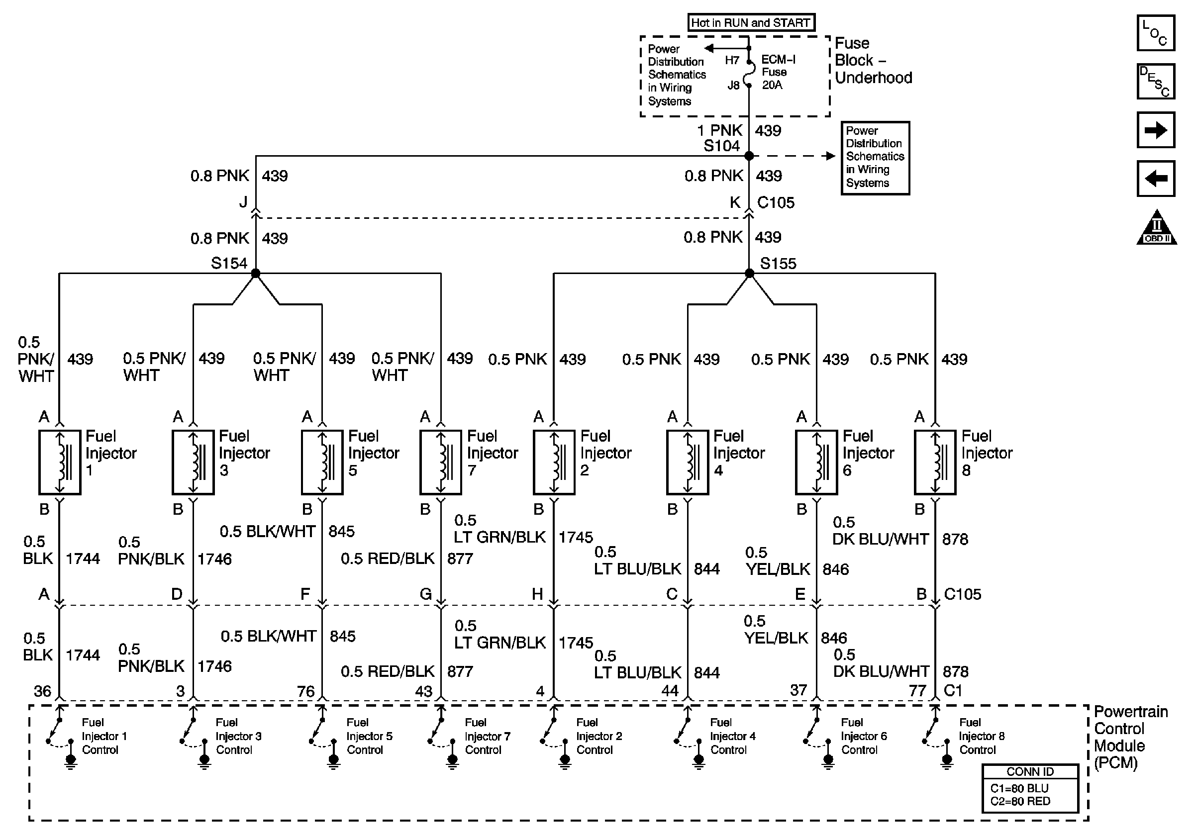
Fuel Injector Controls
Fuel Injector Controls
Master Electrical Component List
MAP, ECT, and Air Meter (IAC&MAF)
Fuel Pump Controls, Dual Tanks
OBD II Symbol Description Notice
IGN A Fuse and Ignition Switch
ECM-I Fuse, 1 of 2, Fuel Injectors