GM Service Manual Online
For 1990-2009 cars only
Makes
🢒
Chevrolet
🢒
2001
🢒
Chevy C Cab/Chassis HD (GMT 400)
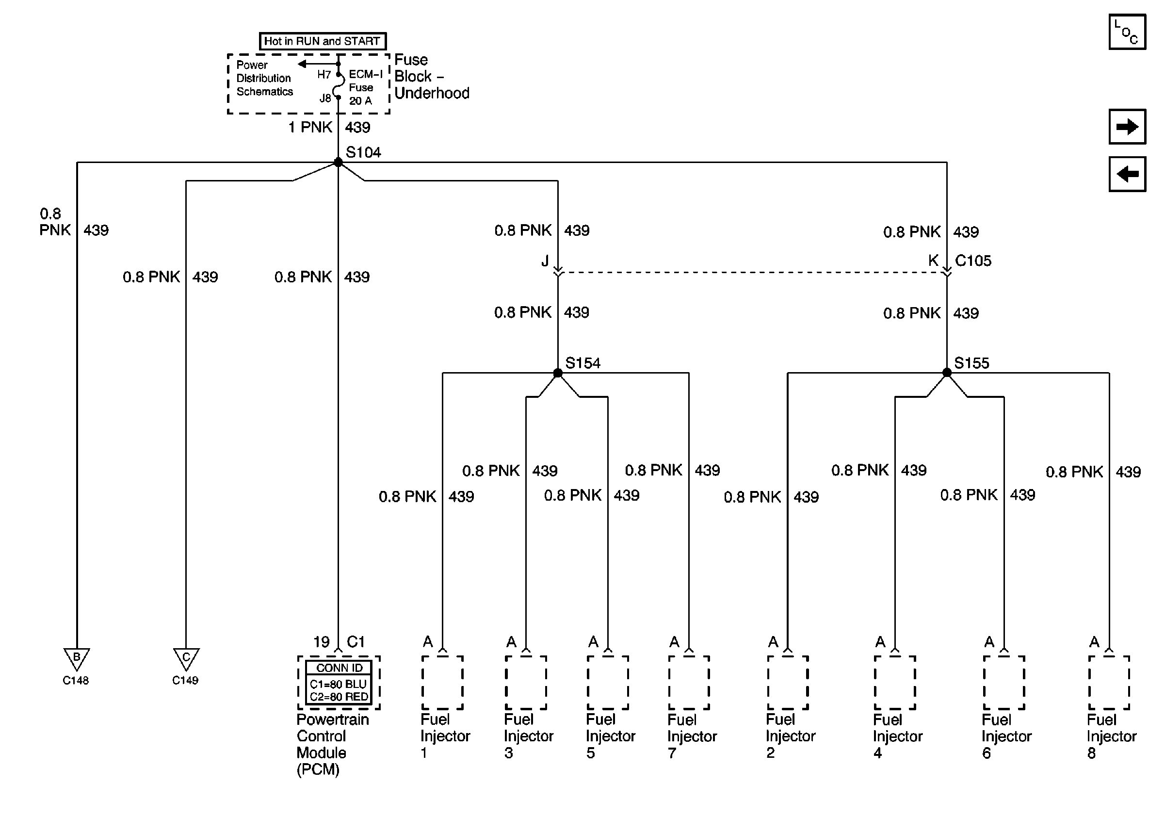
🢒 ECM-I Fuse, 1 of 2, Fuel Injectors
ECM-I Fuse, 1 of 2, Fuel Injectors
ECM-I Fuse, 1 of 2, Fuel Injectors
IGN A Fuse and Ignition Switch
ECM-I Fuse, 2 of 2, Ignition Coils
Master Electrical Component List
ECM-I Fuse, 2 of 2, Ignition Coils
IGN-E Fuse - L65