GM Service Manual Online
For 1990-2009 cars only
Makes
🢒
Chevrolet
🢒
2001
🢒
Chevy C Cab/Chassis HD (GMT 400)
🢒 Backup Lamps Circuits
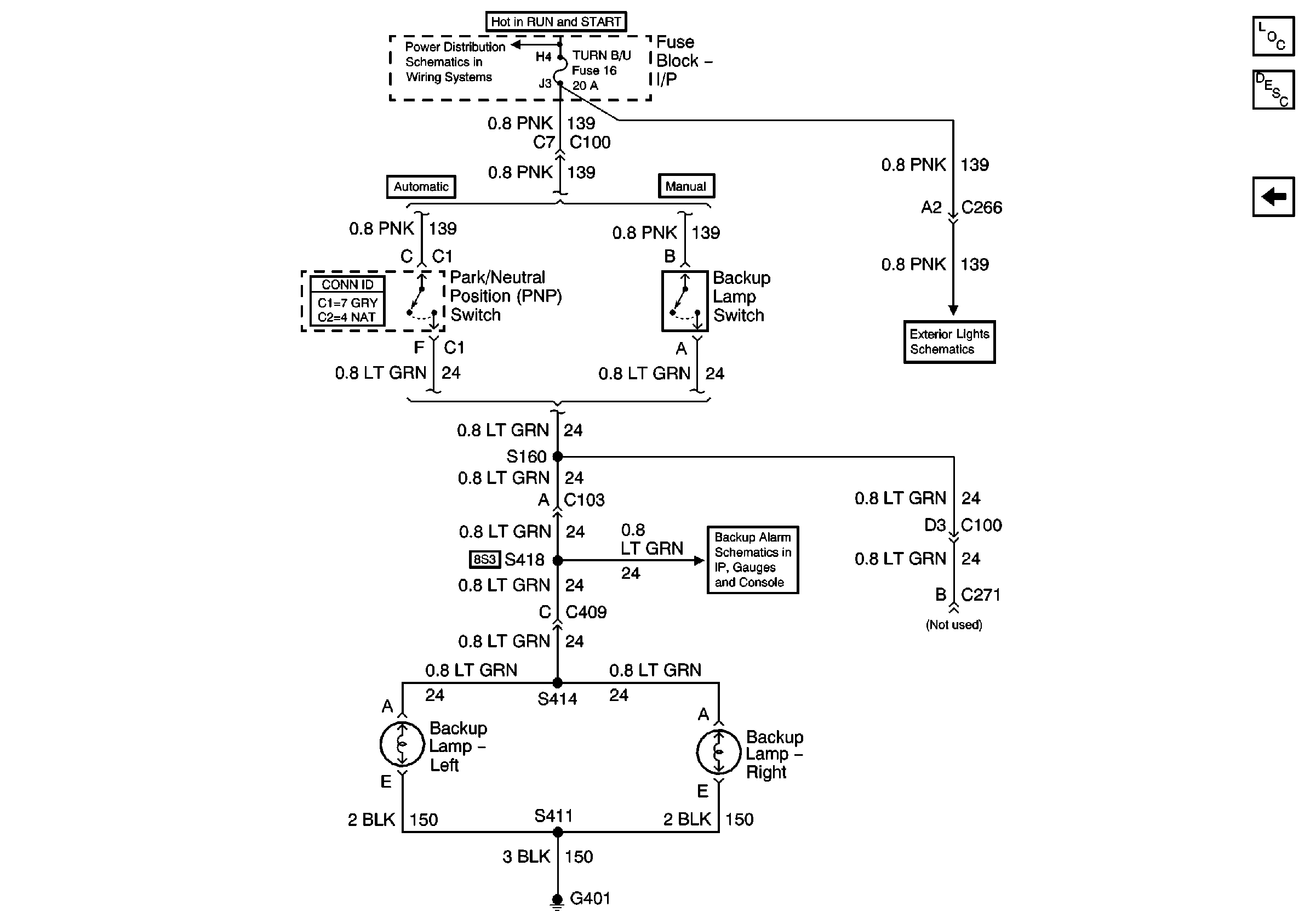
Backup Lamps Circuits
Backup Lamps Circuits
Master Electrical Component List
Exterior Lighting Systems Description and Operation
Tail Lamps, Stop/Turn Lamps, Roof Marker Lights
IGN A Fuse and Ignition Switch
G404 (L18)
Back Up Alarm Circuit