GM Service Manual Online
For 1990-2009 cars only
Makes
🢒
Chevrolet
🢒
2001
🢒
Chevy C Cab/Chassis HD (GMT 400)
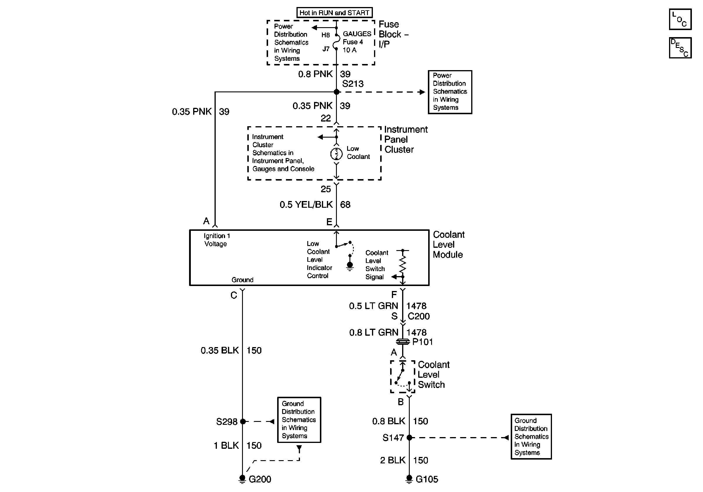
🢒 Low Coolant Indicator Circuit
Low Coolant Indicator Circuit
IGN A Fuse and Ignition Switch
Indicators and Illumination Lamps
Gauges Fuse and Turn-B/U Fuse
Master Electrical Component List
Cooling System Description and Operation
G105 and G106 (L65 Except Frame Ground)
G200