GM Service Manual Online
For 1990-2009 cars only
Makes
🢒
Chevrolet
🢒
2000
🢒
Chevy C Pickup - 2WD
🢒 Illuminated Mirrors
Illuminated Mirrors
Illuminated Mirrors
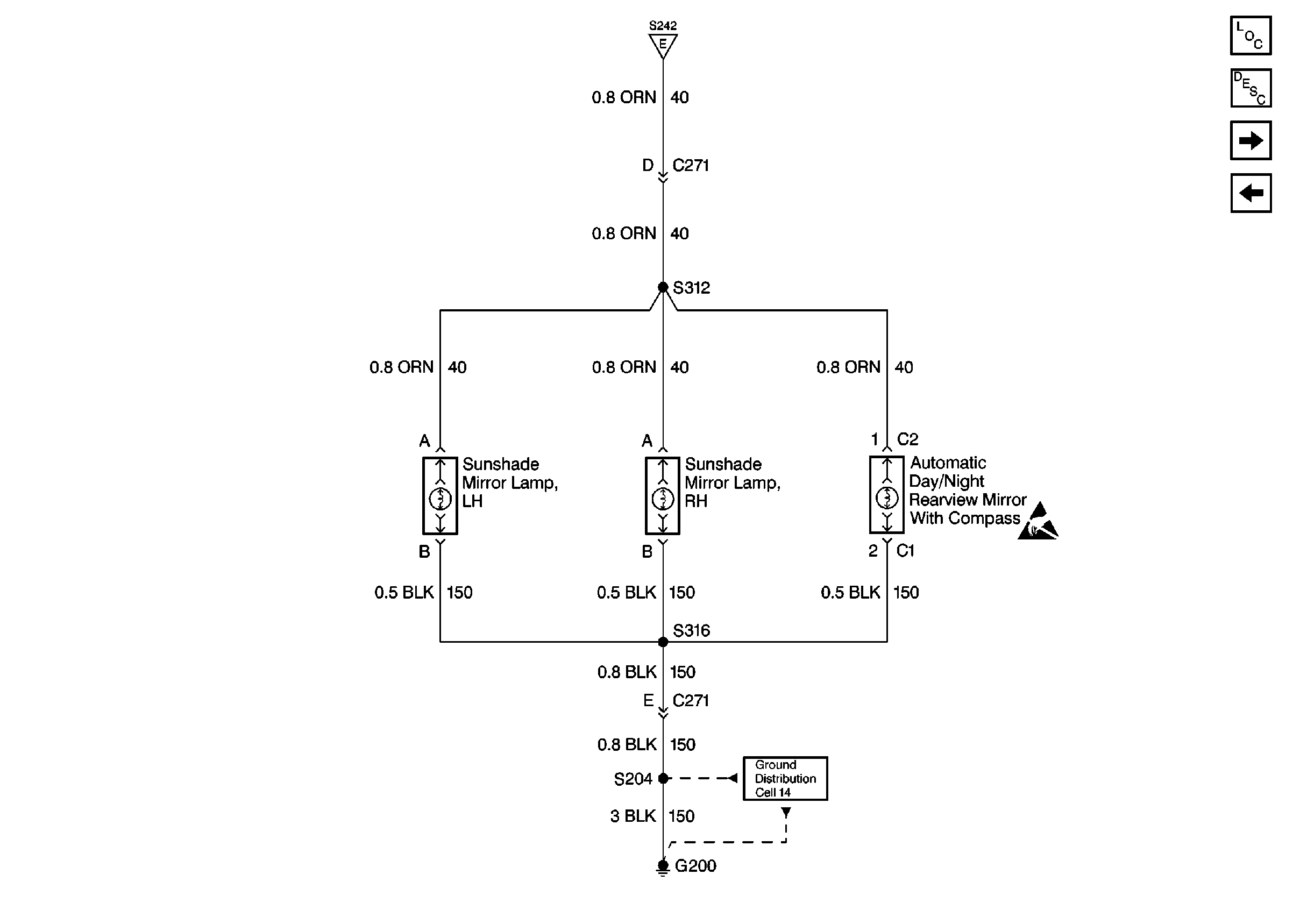
Courtesy Lamps and Rearview Mirror Switch
Cell 14: G200 (1 of 4)
Handling ESD Sensitive Parts Notice
Lighting Systems Components
Interior Lights Circuit Description
Dome Lamps and Reading Lamps
Courtesy Lamps and Rearview Mirror Switch