GM Service Manual Online
For 1990-2009 cars only
Makes
🢒
Chevrolet
🢒
2000
🢒
Chevy C Pickup - 2WD
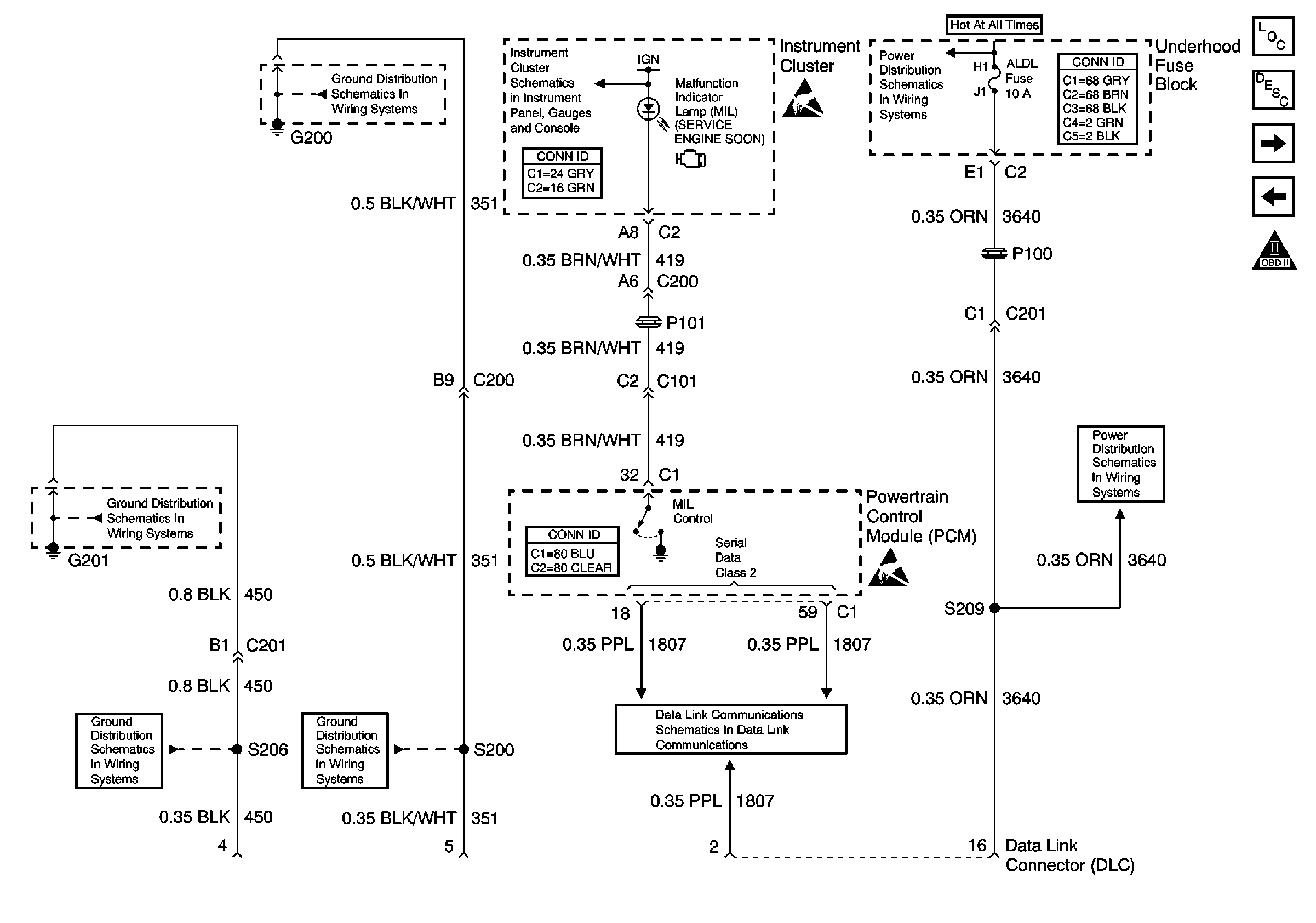
🢒 DLC and MIL
DLC and MIL
DLC and MIL
Engine Controls Components
Powertrain Control Module (PCM)
Ignition Control Module - Front Bank
PCM Power and Ground
OBD II Symbol Description Notice
Power and Grounding Connector End Views Fuse Blocks and Ignition Switch
Underhood Fuse Block Battery Voltage
Handling ESD Sensitive Parts Notice
Instrument Panel, Gages, and Console Connector End Views
G200
HDHIBML, HDHIBMR, ALDL, PCM BATT, IP Fuses
Handling ESD Sensitive Parts Notice
Powertrain Control Module Connector End Views
G201 - Steering Column
G201 - IP Harness
G200
Data Link Connector Schematics