GM Service Manual Online
For 1990-2009 cars only
Makes
🢒
Chevrolet
🢒
2000
🢒
Chevy C Pickup - 2WD
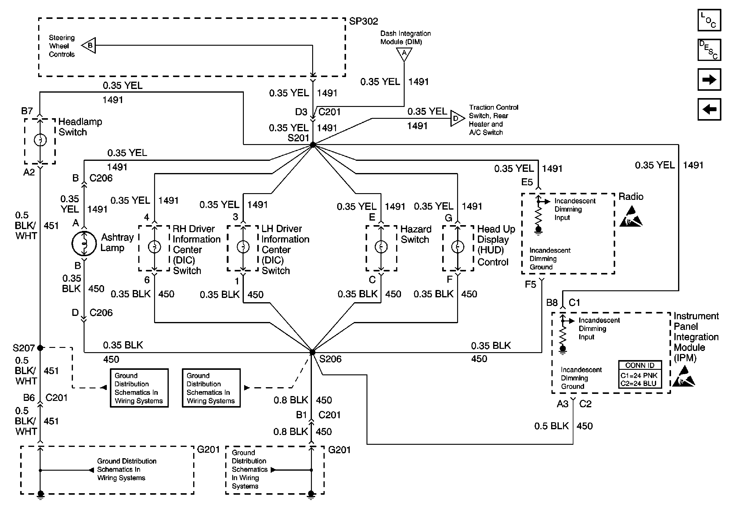
🢒 Instrument Panel Dimming
Instrument Panel Dimming
Instrument Panel Dimming
Lighting Systems Components
Interior Lights Dimming Circuit Description
Steering Wheel Controls
Dimming Control
Handling ESD Sensitive Parts Notice
Handling ESD Sensitive Parts Notice
G201 - Steering Column CKT 451
G201 - Steering Column CKT 451
G201 - IP Harness
G201 - IP Harness
Steering Wheel Controls
Dimming Control
Console Dimming