GM Service Manual Online
For 1990-2009 cars only
Makes
🢒
Chevrolet
🢒
2000
🢒
Chevy C Pickup - 2WD
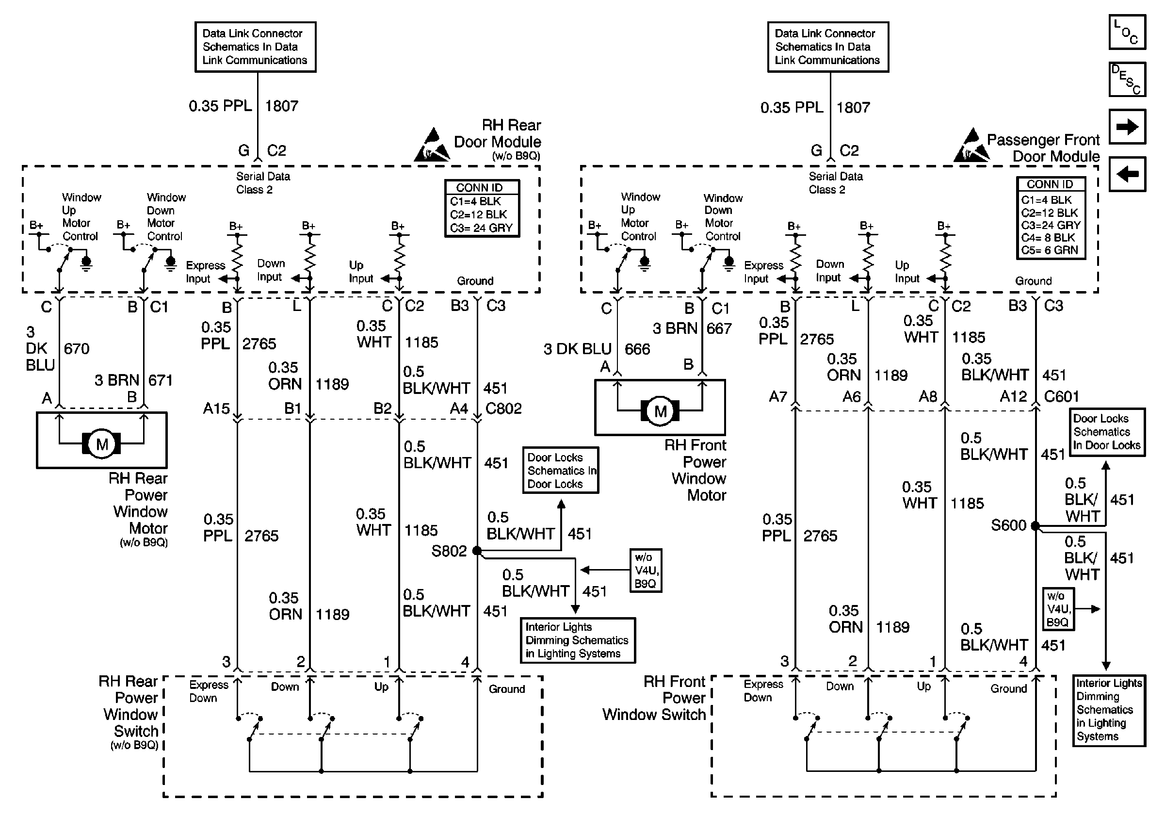
🢒 RH Power Windows
RH Power Windows
RH Power Windows
Power Door Systems Components
Power Windows Circuit Description
LH Middle Door Power Window
LH Power Windows
Handling ESD Sensitive Parts Notice
Handling ESD Sensitive Parts Notice
Serial Data Class 2 (2 of 3)
Serial Data Class 2 (2 of 3)
Right Rear Door Power Door Lock (w/o B9Q)
Rear Door Dimming
Passenger Front Door Power Door Lock
Front Door Dimming