GM Service Manual Online
For 1990-2009 cars only
Makes
🢒
Chevrolet
🢒
2000
🢒
Chevy C Pickup - 2WD
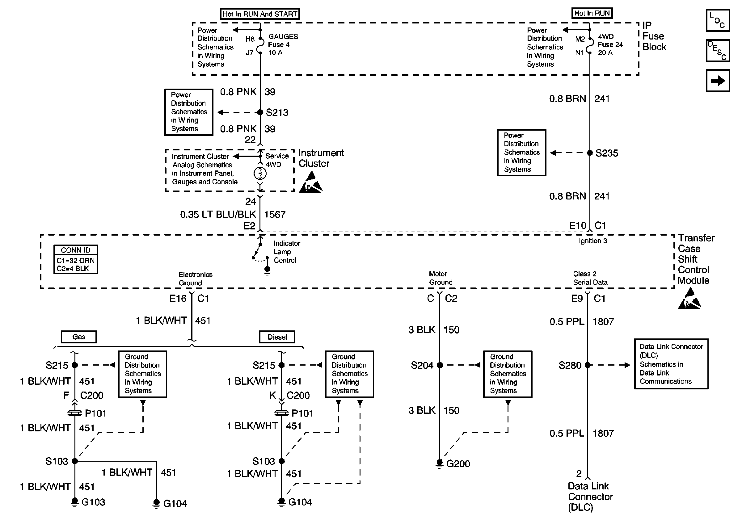
🢒 Shift Control Module Power, Ground, DLC, and Service 4WD Indicator
Shift Control Module Power, Ground, DLC, and Service 4WD Indicator
Shift Control Module Power, Ground, DLC, and Service 4WD Indicator
Transfer Case Control Components
Transfer Case Circuit Description
Shift Motor/Encoder Circuits, PNP, and PCM/VCM Interfaces
IGN A Fuse and Ignition Switch
IGN B Fuse and Ignition Switch
GAUGES Fuse
CRUISE and 4WD Fuses
Indicator Lamps
G103 and G104
G104 Diesel
G200 (1 of 4)
Cell 50 (2000 C/K)
Handling ESD Sensitive Parts Notice