GM Service Manual Online
For 1990-2009 cars only
Makes
🢒
Chevrolet
🢒
2000
🢒
Chevy C Pickup - 2WD
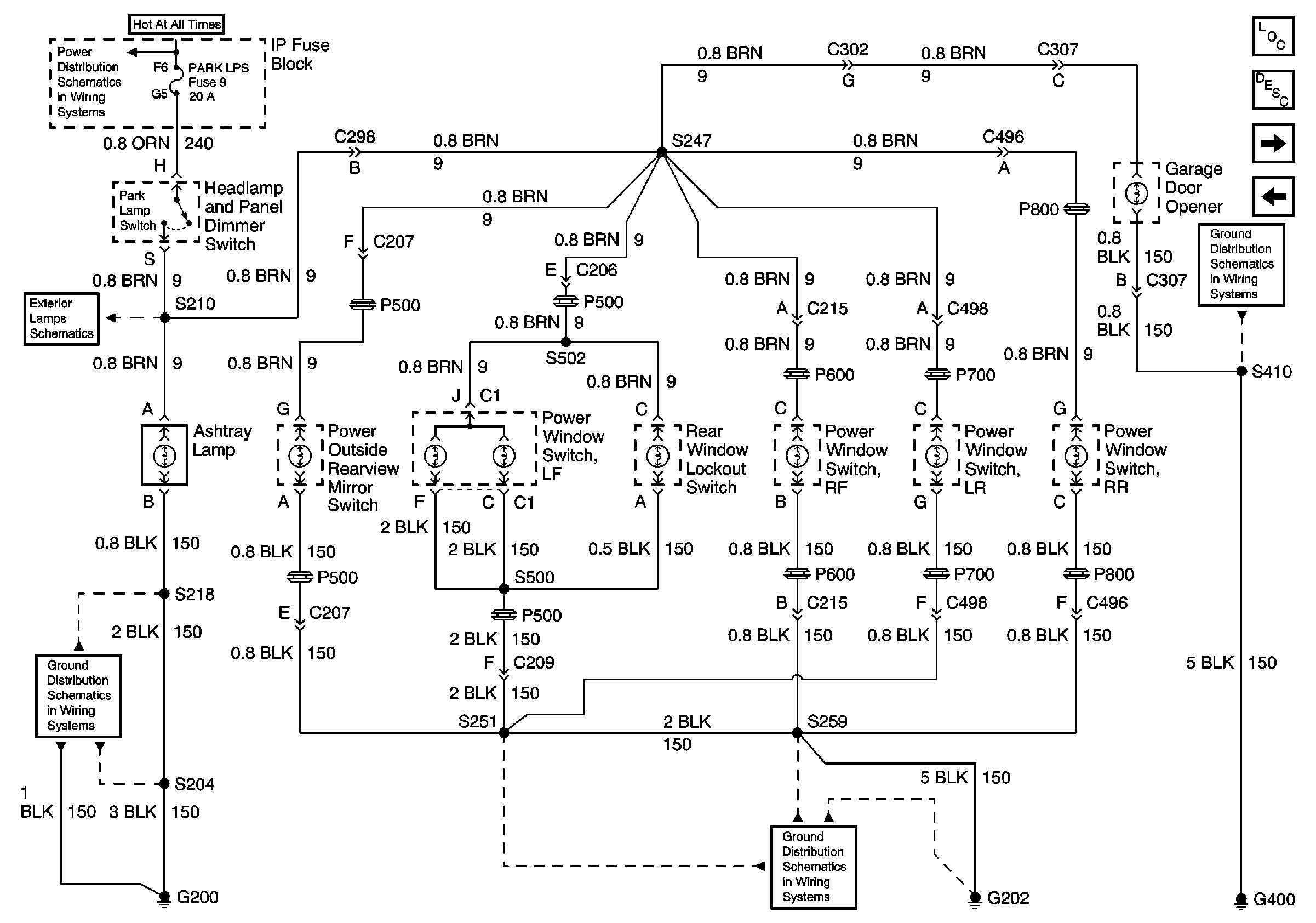
🢒 Power Window Switch Illumination
Power Window Switch Illumination
Power Window Switch Illumination
Lighting Systems Components
Interior Lights Circuit Description Execpt Luxury
HORN Fuse, CIG LTR Fuse 13, Underhood and Reel Lamps
CTSY Fuse 3, Illuminated Vanity Mirrors
G400
G202 (2 of 4)
SECURITY/STRG, PK LPS, and DRL-FOG Fuses
Front Park and Turn Lamps, Roof Marker Lamps
G200 (1 of 4)