GM Service Manual Online
For 1990-2009 cars only
Makes
🢒
Chevrolet
🢒
2000
🢒
Chevy C Pickup - 2WD
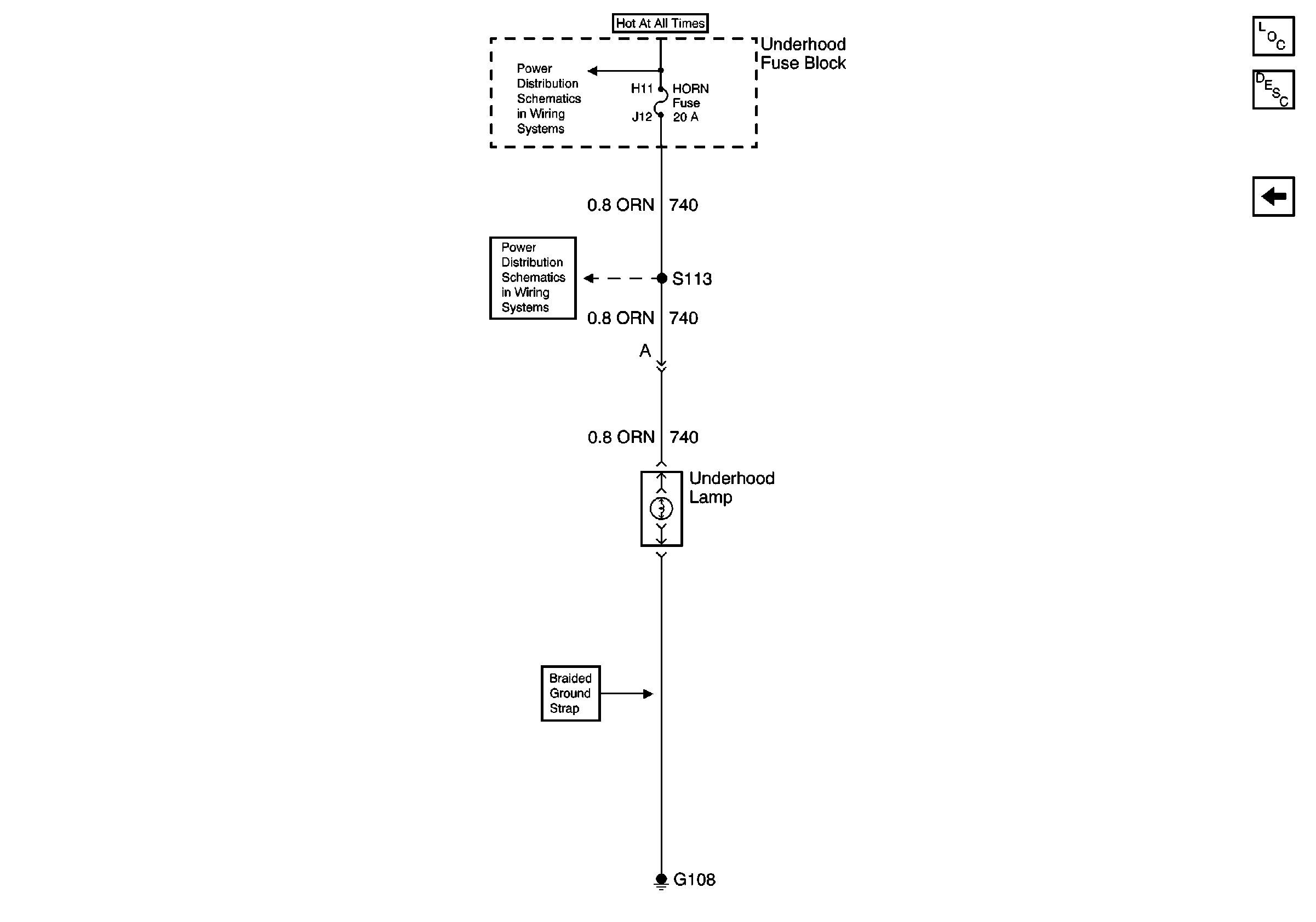
🢒 HORN Fuse, CIG LTR Fuse 13, Underhood and Reel Lamps
HORN Fuse, CIG LTR Fuse 13, Underhood and Reel Lamps
HORN Fuse, CIG LTR Fuse 13, Underhood and Reel Lamps
Lighting Systems Components
Interior Lights Circuit Description Execpt Luxury
Power Window Switch Illumination
ECM-B, HORN and A/C COMP Fuses
ECM-B, HORN and A/C COMP Fuses